- 本文重点阐述为便携式产品选择模拟开关时需考虑的设计参数和关键事项
- 低导通电阻是模拟开关在音频切换用途时的主要选择因素
- 英联电子的低ICCT系列模拟开关省去电平转换??椋行Ы档统杀?/strong>
- 通过在开关断开时接通一个去噪电阻来快速释放电荷可提高音频切换质量
- 英联电子的高隔离度模拟开关采用T-Switch结构,有效实现了信号隔离,抑制了信号串扰
在便携式产品设计中,模拟开关一直以来都主要是作为音频信号切换器来使用。随着双卡双模手机的普及,模拟开关成了双卡切换必备的选择;最新的数字电视DVB,CMMB等在一定的条件下也需要使用模拟开关。那么选择这些开关时需要注意哪些设计问题呢?本文重点阐述为便携式产品选择模拟开关时需考虑的设计参数和关键事项。
导通电阻与平坦度
低导通电阻是模拟开关在音频切换用途时的主要选择因素。值得注意的是,导通电阻是针对具体的VCC 、VIN(电压输入)及给定负载电流而定义的。在晶体管级,RON为起始长度(L)、宽度(W)、电子与空穴迁移率、氧化层电容、门限电压及信号电压的函数。如下所示:

RON会随着电源电压的增加而减小。图1显示了上海英联电子科技有限公司(下文简称英联电子)的UM4684在不同电源电压上测得的RON。导通电阻平坦度(RFLAT)即表示RON随着VIN在0V至VCC或V-至V+)间变化而变化的情况,它是引起THD的主要原因。

带宽、串扰与隔离度
隔离度是用来衡量开关导通通道与关闭通道之间的“噪声”的指标。它在指定频率上测量,是关闭通道输入与输出之间的耦合。串扰是模拟输入通道与另一通道之间的交叉耦合,有两种形式:邻近通道与非邻近通道。这两种参数都以dB表示。在电路设计中通常是一起考虑串扰、隔离度与带宽指标。虽然某些模拟开关的输入带宽高达数百兆赫,但其带宽指标本身的意义并不大,因为高频下的关断隔离度和串扰都明显变得更糟糕。
例如,在1MHz频率下的典型开关关断隔离度为70dB,典型的串扰为-85dB。由于这两项指标都按20dB/+倍频下降,所以在100MHz频率下,关断隔离度下降为30dB,而串扰增加到-45dB。因此,仅仅考虑带宽是不够的,必须考虑在高频工作条件下这两项指标是否都能满足应用要求。
提升模拟开关性能
a. 低ICCT
便携式产品通常由电池供电,因此功耗是选择模拟开关时的一个重要考虑因素。大部分便携式系统需要多种不同的供电电压。模拟开关的供电可能来自于电池或经过电源管理模块调节过的电源输出,开关的控制输入信号也可能来自于电源电压不同的ASIC。当控制输入电压等于0或VCC时,CMOS控制电路的功耗非常低。
但对模拟开关而言,只要控制信号输入电平保持在大于VIH最小值或者小于VIL最大值,开关便会识别控制信号的高低电平。此时控制电压离0和VCC越远,功耗越大,如图2中的红色曲线所示。更新的ASIC设计逐步走向更小几何尺寸的工艺,这限制了它们的电压裕量,因此在新的系统设计中,驱动控制管脚的电压不再等于模拟开关的供电电压。如果使用普通的模拟开关,开关电流消耗通常大于1mA,这将导致过多功耗。

对于某些开关,电流消耗甚至高达几毫安,对功耗敏感的便携式设备而言,这样的功耗是无法接受的。大多数标准模拟开关的产品说明书只给出了典型情况下(即开关输入控制信号的高电平与开关供电电压一致)的功耗指标,这容易让设计工程师感到混淆,他们会惊奇地发现在低压ASIC设计中的模拟开关竟有几毫安的漏电流。英联电子的模拟开关改善了控制电路的输入缓冲器,只要芯片的控制输入电压大于VIH或小于VIL内,而不是等于0V或VCC,也能保持非常小的功耗。从图2可看到采用该技术的英联电子UM3157模拟开关与普通的同系列模拟开关在ICCT上的显著区别。 [page]
此外,英联电子的低ICCT系列模拟开关具有更低的VIH电平值,可以采用较低的控制电平实现开关的高电平切换控制。这种特性大大减少了电路复杂性,特别是在供电电源和控制信号电平不匹配的便携产品应用中,可省去电平转换???,从而有效降低了成本。以图3所示的模拟开关切换音频信号为例,如果采用ASIC输出的1.8V电平作为UM3157控制管脚的输入,则不必采用电平转移器,就能在漏电流很小的情况下实现开关切换。此外,由于低ICCT模拟开关的电流功耗很低(大约1uA),且开关的导通电阻随工作电压的增加而降低,所以可以采用较高的供电电压来实现更低的导通电阻。低导通电阻对典型的音频开关或USB应用而言非常重要。

b.终端电阻
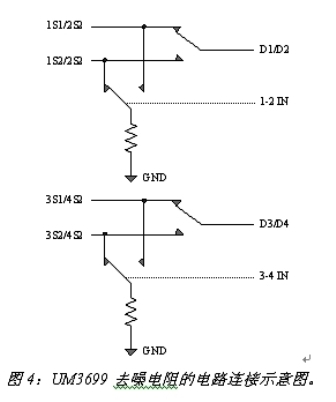
在音频电路中,当模拟开关断开时,由于寄生电容和电容失配,电容上的电荷无法释放,从而导致耳机上的噪声??梢酝ü诳囟峡苯油ㄒ桓鋈ピ氲缱?,来快速释放电荷,从而提高音频切换质量。图4是英联电子的UM3699在开关切换时去噪电阻的连接示意图。

图5是没有采用去噪声电阻时模拟开关的仿真波形图。D1为输入的数据信号。IN为选择端信号。当IN为高电平时,开关通向1S1;当IN为低电平时,开关通向1S2。当开关断开时,由于寄生电容和选择端切换脉冲的存在,开关到地之间是高阻态,所以寄生电容的电荷没有放电回路。这样,开关的关断端在较长的时间内将出现一个比输入数据信号更高的电平,从而导致噪声。图6是采用图4中的去噪电阻后开关切换的仿真波形图。由于开关断开后连接了去噪电阻上,形成一个对地的放电回路,所以寄生电容上的电荷得以很快释放,从而消除了开关切换时的干扰电平,提高了开关在音频切换应用时的声音质量。


c.T-Switch结构
隔离度和串扰作为模拟开关的又一项重要性能指标,在高频率信号的切换中越来越受到人们的关注。英联电子的高隔离度模拟开关采用T-Switch结构,有效实现了信号隔离,抑制了信号串扰。图7是T-Switch结构图。当开关导通时,内部的S1、S3闭合,S2断开,从而实现信号的有效传输;当开关断开时,S1、S3断开,S2 闭合,这样输入端-Cs-地形成了一条耦合回路,同时由于两个Cs导通寄生电容的存在,输入信号更难耦合到信号输出级,这样提高了开关的隔离度和抗串扰能力。




