中心论题:
- 自动测试系统的构成及功能
- 各主要功能??榈纳杓萍笆迪址椒?/strong>
- 测试结果分析
解决方案:
- 使用自动测试系统使电磁兼容标准测试简单化
- 使用自动测试系统节省标准测试方面的不必要的资源浪费
引 言
随着科学技术的发展,人们在生产及日常生活中使用的电气与电子设备也日益增多,而这些设备与其他物体及设备一样,工作在一定环境之中。运行中的电气、电子设备大多伴随着电磁能量的转换,往往对周围环境中的其他用电设备发生影响,与此同时,电气、电子设备本身也会受到其所处环境的各种电磁干扰。我国国内目前基于GJB、FCC、CISPR等的测试系统和软件大多采用国外进口的配套软件,这样就相应地产生了很多问题。首先,由于技术的垄断和关税等问题,国外进口的配套软件成本很高,对于一般的小型实验室来说是不小的负担;其次,国外的进口软件仅适用于标准测试,用户的可扩展性差,尤其是对于定位在EMC故障诊断及摸底实验的实验室更改测试参数不容易实现;最后目前对电磁兼容标准的测试存在对标准不清楚或者知道标准而无从下手的情况对实验中的注意事项、实验仪器、实验方法、实验配置和实验布局等存在误区,因而存在着大量的浪费和多余。本软件根据此要求进行开发本软件的目标使电磁兼容标准测试简单化,以节省标准测试方面的不必要的资源浪费。对于电磁兼容标准自动测试系统软件最终用户为电磁兼容标准测试人员。EMI标准自动测试系统软件将解决电磁兼容标准测试工作冗余的问题,实现电磁兼容标准测试简单程序化。电磁兼容标准自动测试软件以VB和VC++为开发语言。其中VB实现界面及数据库功能,VC++实现程控仪器??榈墓δ?。
自动测试系统的构成及功能
a.硬件构成及功能:本系统的硬件构成主要有:①LISN(阻抗匹配稳定网络):主要用于提供被测设备纯净电源及50 Q的稳定阻抗;②EUT(被测设备);③测试天线包括拉杆天线(10 kHz~30 MHz)、双锥天线(30 MHz~200 MHz)、对数周期天线(200 MHz~1 GHz);④屏蔽电缆和转接头(N-SMA);⑤频谱仪:用于数据采集;⑥GPIB连接线和GPIB卡:用于PC与频谱仪之间的通信;⑦PC。为防止频谱仪过载可选配高通滤波器。
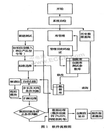
b.软件构成及功能:本软件功能采用??榛椒ㄊ迪种饕山缑娌问淙爰笆菹允灸??、数据库管理??椤⒊炭丶白约炷??、报告报表??樽槌?。本EMI标准自动测试软件具备以下功能:①参数设置,包括测试标准的选择,测试配置的提示,测试参数的设置,如测试频段、测量带宽、检波方式、扫频步进量、参考电平、分辨率带宽、扫频方式、传感器系数、电缆损耗、衰减/放大器等;②控制仪器(频谱分析仪)以一定的步长和速率对信号进行扫频测量、判别和读出数据;③数据处理能力.电磁辐射自动测量软件能够自动将测量的信号电压转换成干扰的量值,即自动补偿因传感器的使用而引起的随频率变化的校准系数,并可用线性或对数频率坐标显示出信号的频率分布,同时自动与相应极限值进行比较,判别信号是否超标并在图中表示出信号频谱与极限值的关系;④数据的存储和输出能力,软件可以将每次的测量数据以数据库文件的形式进行保存,需要时提取,特别是传感器系数和测试极限值都以数据文件的形式保存,便于数据处理和查询时调用。⑤数据库管理功能。主要对各标准的极限值,天线校准因子等进行数据管理。系统工作流程图如图1所示。

各主要功能模块的设计及实现方法
a.初始界面及测试界面???br />
界面??楣岽┯谡鋈砑低呈侨砑男牧橹?,它的优劣直接影响了用户使用整个系统的感受。充分考虑了用户的需求和当今软件的发展趋势之后,本文设计出人性化和易于理解的界面输入程序。首先,标准选择界面用户只需选择所需的标准系统会自动从数据库筛选被选标准所规定的测试项目、分类、检波方式、测试所需仪器等供用户选择并自动产生测试仪器连接配置图。其次,软件提供了多种界面风格及色彩,加入了当今软件的流行元素,避免了用户审美疲劳,如图2、3所示。


b.程控及系统自检模块
程控及系统自检??榫蒝C++以控件形式实现。由于本系统使用的是NI公司的GPIB总线实现通信所以在VC++编程环境中,通过调用GPIB32.dll动态连接库使用其内部函数完成通信,仪器指令参照HP 8563EC编程指令编制主要代码如下:

其中扫描函数的4个参数的作用是使扫描得到的数据自动入库以便数据显示??槭褂?。
系统开机自检可以调用Connect8563.Queryinstrument函数完成,函数返回值反映了系统目前的全部状态如图4所示。

c.数据处理???br />
这个??榘?个主要功能:首先极限值、LISN校准因子、天线校准因子的插值功能。以极限值为例:电磁兼容测试标准要求的极限值并不连续,而测试结果是连续的,因而在程序设计时,要根据有限的几个极限值进行插值,以确定频谱仪扫频的起始、截止频率对应的极限值。根据这2个频点的极限值再进行第二次插值,确定频谱仪上每个点对应的极限值。两次插值均是在对数坐标系下进行线性插值。其他因子的插值算法与极限值插值类似。其次是数据及单位转化如下:

式中:CL为电缆损耗;PAG为前置放大器增益;P为从频谱仪得到的功率值;107为50 Ω系统中功率与电压的转换参数。
d.报告报表???br /> 由于EMI标准测试会产生大量的数据,而且如果需要的到我们关心的超标频点的情况需要花费很大精力将标准中规定的极限值与测试数据比较。自动测试软件的自动报告报表功能能给测试节约大量的人力物力,它自动进行数据的比较计算后生成标准的报表,而且可以根据给定的格式生成测试报告,做到快照式的测试即测试任务完成就可以马上拿到测试数据现场分析现场马上解决问题。
测试结果分析
由于本系统定位为电磁兼容预兼容实验,所以系统的误差分析主要是与标准实验室数据对比得出,一般来说预兼容实验与标准实验室测试结果误差不超过3~6 dB为合格,误差主要来源为实验室不理想,必然带来诸如环境电平过大,墙壁反射及墙壁对天线方向图的影响等误差。通过对某信息设备辐射发射测试结果分析可得,超标频点误差为3 dB左右,本底噪声误差为5 dB左右,符合要求。
结 论
EMI标准自动测试软件具有执行效率高、仪器同步性好、??榛杓?、易于维护的诸多优点。VC++编制的程控指令具有很高的可移植性,可以移植到Agilent多数仪器和41所部分频谱仪,对日后的程控系统的开发具有很好的借鉴意义。本系统解决了传统测试的很多缺点和弊端,简化了测试过程大大提高了EMI标准测试的工作效率,在电磁兼容领域有广泛的应用前景。
去焊接工艺与测试社区看看






