【导读】在现代高速数字系统、通信设备和精密仪器设计中,时钟分配的相位噪声与通道一致性已成为影响系统性能的关键因素。时序精度上的微小偏差可能导致数据采集错误、通信误码率上升乃至整个系统性能下降。针对这一挑战,瑞萨电子推出的5PB1102高性能1:2 LVCMOS时钟缓冲器,以其卓越的性能指标为工程师提供了理想的低噪声、高稳定性时钟扇出解决方案。
时序精度的技术突破
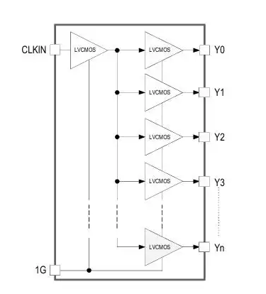
5PB1102时钟缓冲器的核心优势体现在其卓越的时序保真度上,多项性能指标均达到行业领先水平:
极低附加抖动:该器件典型附加相位抖动值低于50 fs RMS(积分范围12 kHz–20MHz),这一指标远优于同类竞争产品。这种极低的抖动特性确保了参考时钟在分配过程中不会引入显著的相位噪声,为系统提供了纯净的时钟信号。
卓越的通道一致性:小于50 ps的输出间偏斜(pin-to-pin skew)保障了多路同步信号的严格对齐。这一特性对于并行数据采集系统、高速ADC/DAC采样时钟以及FPGA全局时钟分配等应用场景至关重要,确保了各个通道间的精确同步。
高速运行能力:最高200 MHz的工作频率使5PB1102能够充分满足主流高速接口的时序需求,包括PCIe Gen3/4参考时钟和SerDes参考源等应用。
系统集成与信号完整性优化
瑞萨电子在5PB1102的设计中充分考虑了实际应用中的系统集成需求:
集成终端电阻:器件内部集成了50Ω串联终端电阻,这一设计极大地简化了PCB布局复杂度,减少了外部匹配元件的需求。同时,这种集成设计还有效优化了信号完整性,显著抑制了信号过冲与振铃现象。
宽电源电压范围:支持1.8V至3.3V的宽电源电压范围,使该器件能够直接适配多种逻辑电平系统,无需额外添加电平转换电路,降低了系统复杂度和成本。
灵活封装选项:5PB1102提供两种封装选项以满足不同应用场景的需求。8引脚TSSOP封装便于手工焊接与传统SMT工艺;而小型8引脚DFN封装(2mm × 2mm)则极大地节省了宝贵的PCB空间,特别适合紧凑型??樯杓?。两种封装均支持工业级扩展温度范围(–40°C至+105°C),符合汽车电子、工业控制等恶劣环境的苛刻要求。
智能功耗管理与应用场景
5PB1102配备了输出使能(OE)功能,允许系统在待机或低功耗模式下关闭时钟输出。这一智能特性不仅降低了系统动态功耗,还有效减少了不必要的EMI辐射。OE引脚兼容1.8V/3.3V逻辑电平,可直接由MCU或CPLD控制,提高了系统设计的灵活性。
该器件的典型应用场景广泛覆盖了多个高要求领域:
高速ADC/DAC或RF收发器的参考时钟分配
FPGA或ASIC的全局时钟树驱动
网络交换芯片的同步以太网(SyncE)时钟扇出
工业自动化中的多轴运动控制同步时钟
汽车雷达与摄像头系统的低抖动时序基准
实践中的设计建议
为了充分发挥5PB1102的性能优势,在实际应用中应注意以下设计要点:
电源去耦策略:建议在VDD引脚就近放置100nF陶瓷电容与10μF钽电容组合,以有效抑制高频噪声,确保电源纯净度。
输入信号质量要求:为充分发挥器件的低抖动性能,输入时钟应具备干净边沿(上升/下降时间tr/tf < 2 ns)与足够幅度(≥0.8 VDD)。
PCB布线优化:输出走线应保持等长设计,远离高频干扰源,并参考完整地平面,以维持最佳的通道一致性。
瑞萨电子5PB1102时钟缓冲器通过其卓越的时序保真度、系统集成度和设计灵活性,为高速数字系统提供了可靠的时钟分配解决方案。无论是在通信基础设施、工业自动化还是汽车电子领域,该器件都能为工程师提供稳定、纯净的时钟信号,助力系统实现最优性能。随着数字系统对时序精度要求的不断提高,这种高性能时钟扇出解决方案的价值将愈发凸显。




