桃花源qm花论坛(品茶),凤楼阁论坛官网入口网址,一品楼品凤楼论坛最新动态,风楼阁全国信息2024登录入口

你的位置:首页 > 互连技术 > 正文

从ADAS到无人驾驶:毫米波雷达如何重塑智能汽车感知力?

发布时间:2025-05-08 责任编辑:lina

【导读】汽车雷达作为核心传感器技术,涵盖多种类型,其中毫米波(mmWave)雷达凭借全天候目标探测能力脱颖而出。无论面对暴雨、浓雾还是沙尘等恶劣环境,其稳定性能均远超其他传感器方案。在智能汽车领域,毫米波雷达已成为ADAS(高级驾驶辅助系统)与自动驾驶技术的基石,通过精准感知周围环境,为车辆提供实时距离、速度与角度数据,从而构建安全、高效的驾驶决策基础,推动自动驾驶从概念向现实加速演进。


汽车雷达作为核心传感器技术,涵盖多种类型,其中毫米波(mmWave)雷达凭借全天候目标探测能力脱颖而出。无论面对暴雨、浓雾还是沙尘等恶劣环境,其稳定性能均远超其他传感器方案。在智能汽车领域,毫米波雷达已成为ADAS(高级驾驶辅助系统)与自动驾驶技术的基石,通过精准感知周围环境,为车辆提供实时距离、速度与角度数据,从而构建安全、高效的驾驶决策基础,推动自动驾驶从概念向现实加速演进。


毫米波雷达在汽车中的应用


毫米波是30-300GHz频率范围内的短波电磁波。毫米波雷达的波长从1mm到1cm不等。在汽车工业中,毫米波雷达常被用于无干扰地精确感测位置、速度和角度。根据使用的频率划分,汽车毫米波雷达主要有24GHz毫米波段、60GHz毫米波段和77GHz毫米波段三种类型。就毫米波雷达传感器而言,工作频率越高,波长越短,则带宽越宽,分辨率越高。

? 24GHz毫米波雷达被称为短波雷达,波长为1.25cm,可感应15cm至30m范围内的距离,可用于停车辅助系统。由于工作频率相对较低,带宽较窄(仅250MHz),因此24GHz毫米波雷达的测量精度有限,这也限制了它的应用范围。不过,24GHz毫米波雷达因技术较为成熟,器件的价格很便宜,对价格敏感的应用而言是个不错的选择。

? 60GHz毫米雷达的波长为5mm,它的出现主要是为了应对24GHz雷达带宽和精度的不足。在非汽车领域,对毫米波雷达的应用已逐渐从24GHz转移到60GHz。60GHz毫米波雷达可用于人体姿势检测、生命体征监测和分区轨迹追踪等高级功能场景。而对人体姿势检测和生命体征监测正在成车内乘员健康监测的重要选项。因此,60GHz毫米波雷达在汽车领域的应用也在逐渐展开。

? 77GHz毫米波雷达的波长仅为3.9mm,频率相对较高。一般来说,雷达的波长越短,分辨率/精度就越高,整个系统的外形也将更小。汽车盲点检测需要在1m至100m的中程范围内进行检测,77GHz毫米波雷达完全覆盖这一应用需求。对于自适应巡航控制和前方碰撞预警系统而言,可能需要探测到长达250m的距离,这种远程探测需求可选择77GHz或79GHz毫米波雷达。

毫米波雷达作为一种非接触式传感器,与相机、红外或激光雷达(LiDAR)相比,具有抗干扰性能强、全天候(大雨天除外)工作、雨雾、烟雾和灰尘穿透能力强等优点。这些特性使其成为旨在提高车辆安全性和驾驶自动化的现代车辆的理想解决方案。

毫米波雷达赋能自动驾驶

毫米波雷达通常集成在车辆的角落,靠近保险杠,以覆盖盲点并协助碰撞检测、停车和其他安全功能。毫米波角雷达技术能够扫描比传统雷达传感器更宽的区域,可提供车辆周围的360度视野。汽车毫米波角雷达使用毫米波频率来检测车辆周围的物体和障碍物,特别是在能见度有限的角落。这种雷达技术在增强车道保持辅助、防撞、自适应巡航控制和盲点检测等系统的功能方面发挥着至关重要的作用。

安全一直是汽车行业的首要关注点,毫米波角雷达等雷达技术为实现这一目标做出了重大贡献。毫米波角雷达提供的极重要的安全功能之一是盲点检测。它可以提醒驾驶员在难以看到的区域,特别是在高速公路上,存在其他车辆或障碍物,有效降低了变道或并线时发生事故的风险。当毫米波角雷达与其他ADAS技术协同工作时,通过不断监测车辆周围的环境,可实时提醒驾驶员潜在的碰撞风险,甚至应用自动制动来防止事故,大大降低侧面碰撞的风险。

在狭小的空间停车是驾驶员非常不喜欢做的事情之一,但有了角雷达,系统可为驾驶员提供精确的引导,使停车更容易、更安全。自动驾驶系统在检测物体和做出瞬间决策以安全导航方面需要高精度,角雷达通过向车辆控制系统提供准确的数据,帮助其做出有关转向、制动和加速的明智决定。

虽然毫米波雷达擅长在远程和具有挑战性的天气条件下探测物体,但摄像头、激光雷达和超声波传感器等其他传感器通过提供额外的细节能有效补充其功能。因此,毫米波雷达通?;岜患傻蕉啻衅魅诤舷低持?。

在融合系统中,摄像头提供高分辨率图像,详细识别物体,如交通标志、车道标记和行人外观。激光雷达生成环境的3D地图,创建附近物体和障碍物的高精度模型。超声波传感器检测非常近的物体,如停车时的路缘或其他车辆。通过结合来自多个传感器的数据,车辆的ADAS可以更全面地了解周围环境。

这种传感器融合方法为现实驾驶场景提供了更稳健的智能驾驶解决方案。以汽车自动制动系统为例,毫米波雷达可与摄像头一起搭配使用。摄像头用于识别前方弯道半径和障碍物,还能控制毫米波雷达的探测方向。毫米波雷达则用于精准地检测障碍物的距离和接近速度,用于汽车应用的毫米波雷达可正确区分多个障碍物。

ADAS和防撞系统中的毫米波雷达方案

毫米波雷达在防撞方面非常显著的优势是其高分辨率的探测能力,即使在几百米的距离它也能探测到物体,为车辆提供充足的时间来躲避潜在的障碍和危险。在检测移动物体方面,毫米波雷达也特别有效,它能准确探测到道路上行驶的车辆、行人、自行车以及动物等,即使在高速公路和城市复杂街道等环境中亦能如此。

此外,毫米波雷达的高精度使其还能够区分静止和运动的物体,并估计它们的运行速度和方向。这些信息对于自适应巡航控制(ACC)、自动紧急制动(AEB)和其他旨在防止追尾碰撞和避免潜在事故的安全功能至关重要。

在ADAS和防撞系统中,集成在车辆的前、后和侧面板中的毫米波雷达,通过感应物体并测量其距离、速度和轨迹,使车辆能够及时采取纠正措施,如制动或转向调整,避免发生碰撞。


从ADAS到无人驾驶:毫米波雷达如何重塑智能汽车感知力?图:可用于ADAS和泊车应用的毫米波解决方案(图源:Texas Instruments)

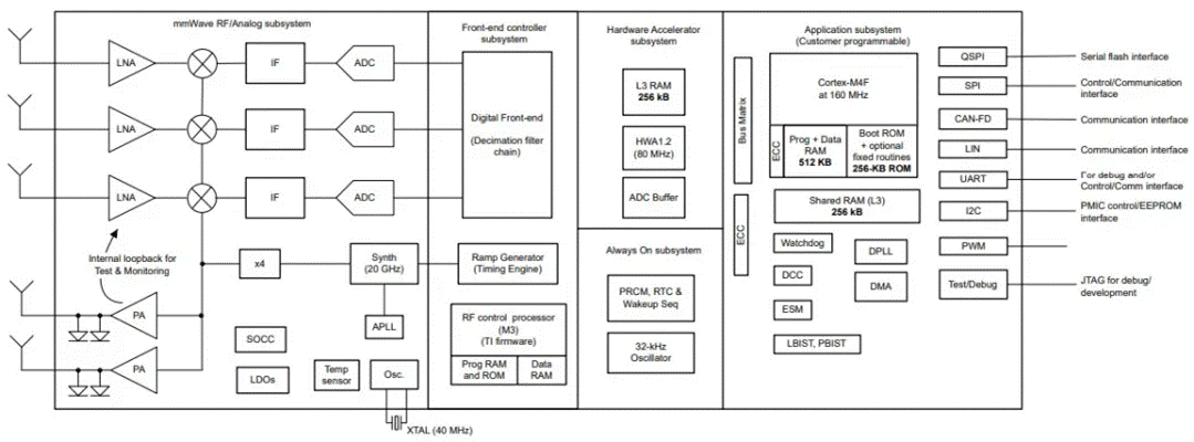
TI AWRL1432


Texas Instruments拥有全线的、适用于汽车自动驾驶的毫米波雷达产品(如图3)。其中,AWRL1432毫米波雷达传感器专为汽车应用中的自监控雷达系统而设计,包括踢开门、停车辅助、盲点检测和车门障碍物检测等。

从ADAS到无人驾驶:毫米波雷达如何重塑智能汽车感知力?图:可用于停车辅助、盲点检测等方案的低功耗毫米波雷达传感器AWRL1432系统框图(图源:Texas Instruments)

该传感器工作在76GHz至81GHz频带,连续带宽为5GHz,内置一个Arm M4F内核(160MHz)和一个单精度浮点单元(FPU),用于高效的信号控制。其还具有Texas Instruments雷达硬件加速器(HWA 1.2),用于处理快速傅里叶变换(FFT)、对数幅度和恒定虚警率(CFAR)操作等任务。

AWRL1432传感器分为四个电源域:射频/模拟子系统、前端控制器子系统(FECSS)、应用子系统(APPSS)和硬件加速器(HWA)。AWRL1432对每个电源域都有单独的控制,允许根据使用情况打开或关闭每个状态。即使在低功耗状态下,传感器也会保留一些信息,如应用程序图像或RF配置文件,使设备能够快速恢复运行。

从图3中可以看出,AWR1843是作为毫米波角雷达传感器使用的,它采用Texas Instruments低功耗45nm RF CMOS工艺,在极小的外形尺寸下实现了高集成度。单芯片实现了3TX、4RX系统,同时内置PLL和ADC以及用于雷达信号处理的高性能C674x DSP。

此外,AWR1843芯片内还包括一个用于汽车接口的用户可编程ARM R4F基座。简单的编程模型更改即可完成各种传感器的实现(近距离、中距离和远距离),并有可能动态重新配置以实现多模传感器。AWR1843在76GHz至81GHz频段运行,是汽车领域低功耗、自我监控、超精确雷达系统的理想解决方案。


从ADAS到无人驾驶:毫米波雷达如何重塑智能汽车感知力?图:可用于毫米波角雷达传感器的AWR1843系统框图(图源:Texas Instruments)


毫米波雷达的四大发展趋势

在技术进步和不断变化的市场需求的推动下,毫米波雷达市场呈上升趋势。Data Insights Market预计,到2033年,全球毫米波雷达汽车市场的价值将达到约90.95亿美元,2025年至2033年的复合年增长率为4.3%。

制造商在将毫米波雷达集成到ADAS和自动驾驶汽车后,有效提高了安全性和运营效率。现在,汽车行业越来越多地开始将毫米波雷达用来实现自适应巡航控制、防撞和行人检测等功能。

综合分析,毫米波雷达将在以下四个方面取得较大发展:

? 77GHz毫米波雷达的应用:与24GHz雷达相比,77GHz雷达技术提供了更高的分辨率和范围,使其成为高级安全应用的首选。77GHz雷达的采用率预计将在未来几年大幅提高。

? 与高级驾驶辅助系统(ADAS)的集成:毫米波汽车雷达正越来越多地与自适应巡航控制、车道偏离警告和自动紧急制动等ADAS系统集成。这些系统使用雷达数据来提高车辆安全性,并在各种驾驶场景中为驾驶员提供帮助。

? 大量采用板上芯片(COB)技术:COB技术将雷达传感器和天线集成在单个芯片上。这项技术有望大幅降低毫米波雷达传感器的成本和尺寸,助推毫米波雷达在汽车行业的应用。

? 加速与AI和机器学习等新兴技术的融合:AI技术将被用来提高毫米波雷达传感器的性能。人工智能雷达传感器可以学习和适应环境,使其更加准确和可靠。AI和机器学习(ML)技术以及将毫米波雷达与相机和激光雷达等其他传感器的集成将成为推动毫米波雷达市场发展的主要动力。

本文小结

自动驾驶汽车的发展推动了对高性能毫米波汽车雷达传感器的需求。这些传感器是自动驾驶车辆的障碍物检测、路径规划、车辆防撞系统和盲点检测(BSD)等应用的关键组件。其中,盲点检测预计将成为毫米波汽车雷达市场的主要细分市场。

激光雷达因价格昂贵通常只适用于高端车辆,毫米波雷达凭借较高的成本效益为我们提供了一种经济实惠的防撞系统替代方案,且不会对性能产生较大影响,这使得汽车制造商更容易以较低成本将先进的技术集成到更广泛的车辆中。

对ADAS需求的不断增长,安全法规的日益严格,这一切都正在推动着毫米波雷达市场的增长。毫米波雷达的应用正在彻底改变车辆的安全性,特别是在防撞领域,使其成为现代车辆不可或缺的雷达技术。

与此同时,对毫米波雷达等先进安全技术的需求开辟了新的商业和投资机会,随着汽车制造商不断将这些先进功能集成到他们的车辆中,雷达系统和传感器组件的供应商亦将从中受益。


免责声明:本文为转载文章,转载此文目的在于传递更多信息,版权归原作者所有。本文所用视频、图片、文字如涉及作品版权问题,请联系小编进行处理。


我爱方案网


推荐阅读:

DigiKey拓展创新版图,新产品线引领行业新风潮

能效升级新引擎!拆解IGBT的三大技术优势

微米级心跳:探索MEMS振荡器的微观世界

驱动电路设计(七)——自举电源在5kW交错调制图腾柱PFC应用

厚膜电阻技术解析与应用选型指南


特别推荐
技术文章更多>>
技术白皮书下载更多>>
热门搜索

关闭

?

关闭