桃花源qm花论坛(品茶),凤楼阁论坛官网入口网址,一品楼品凤楼论坛最新动态,风楼阁全国信息2024登录入口

你的位置:首页 > RF/微波 > 正文

如何快速、经济地将工业以太网添加到工业 4.0 设备中

发布时间:2023-01-06 责任编辑:lina

【导读】对于工业 4.0 和工业物联网 (IIoT) 的智能工厂设计者而言,需要能够快速部署紧凑、强大、低延迟和低功耗的自动控制网络接口。工业以太网 (IE) 正在不断地满足各种性能要求,它采用以太网协议下的 PROFINET、EtherNet/IP 或 EtherCAT 等协议,以及修订版媒体访问控制 (MAC) 层,以提供工业 4.0 设备所需的低延迟和实时性能。


对于工业 4.0 和工业物联网 (IIoT) 的智能工厂设计者而言,需要能够快速部署紧凑、强大、低延迟和低功耗的自动控制网络接口。工业以太网 (IE) 正在不断地满足各种性能要求,它采用以太网协议下的 PROFINET、EtherNet/IP 或 EtherCAT 等协议,以及修订版媒体访问控制 (MAC) 层,以提供工业 4.0 设备所需的低延迟和实时性能。

然而可能面临的挑战是,在确保 IE 软件获得认证以保证运行可靠和互操作性的同时,为灵活地实施 IE 而收集所有必要的组件。

此外,还存在电源效率和环境方面的问题。例如,IE 网络通常使用线型或环型网结构,其布线长度要少于星型网络。然而,线型和环型网要求每个设备提供两个以太网端口,这使得物理层 (PHY) 的功率耗散成为设计的关键。

工业环境中的温升以及对紧凑型解决方案的需求,使得设计者必须仔细管控 IE 实施的功耗预算。

我们来考虑一个具有 2.5 W 功率耗散预算的 IE 端口,其中现场可编程门阵列 (FPGA)、双数据速率 (DDR) 存储器和以太网交换机共消耗 1.8 W。这样就有 700 mW 可分配给两个 PHY(图 1)。


如何快速、经济地将工业以太网添加到工业 4.0 设备中
图 1:以太网线型(中间)或环型(右)架构中的每个设备都需要两个 PHY(左)。(图片来源:Analog Devices)


除了满足具有挑战性的功率耗散预算要求外,工业设备还需要符合国际电工委员会 (IEC) 和欧洲规范 (EN) 的若干电磁兼容性/静电放电 (EMC/ESD) 标准。

· IEC 61000-4-2 ESD
· IEC 61000-4-4 电气快速瞬态 (EFT)
· IEC 61000-4-5 浪涌
· IEC 61000-4-6 传导抗扰度
· EN 55032 辐射和传导发射

按照所有这些标准进行测试,成本高且耗时长。而且,如果在测试和认证过程中出现任何问题,就会延长上市时间并增大成本。

参考设计能够简化 IE 实施

为了帮助克服与 IE 实施有关的诸多难题,Analog Devices 开发出 Chronous RapID 平台第 2 代嵌入式参考设计。Chronous 提供了一个全面的 IE 开发环境,包括经过验证的、成熟的硬件和软件,以适应常见的 IE 协议。

该开发环境包括两个以太网 PHY,使其适用于以线型或环型拓扑结构联网的设备。有三种板卡可供选择,具体包括 EtherCAT (EV-RPG2-ECZ)、EtherNet/IP (EV-RPG2-ENZ) 和 PROFINET (EV-RPG2-PNZ) 的预认证软件。EV-RPG2 评估套件(图 2)提供了一个全面的开发环境,包括:

· 基板 — 带有 ADIN2299 RapID 第 2 代具有认证协议软件的???br style="padding: 0px; margin: 0px auto;"/>· 带有通用插头适配器的壁插式交流 (AC) 适配器
· USB A公头到 USB micro B 公头的电缆
· 以太网电缆


如何快速、经济地将工业以太网添加到工业 4.0 设备中
图 2:EV-RPG2 评估套件包括快速部署 IE 网络设备所需的一切。(图片来源:Analog Devices)


利用 EV-RPG2 开发套件,设计者能够在进行集成之前快速验证主处理器与智能工厂设备(如可编程逻辑控制器 (PLC))之间的通信路径。除了预先经过测试的软件外,EV-RPG2 还具有低功耗的特点,已经按照相关的 IEC 和 EN 标准进行了测试,并支持针对各种使用案例进行定制。

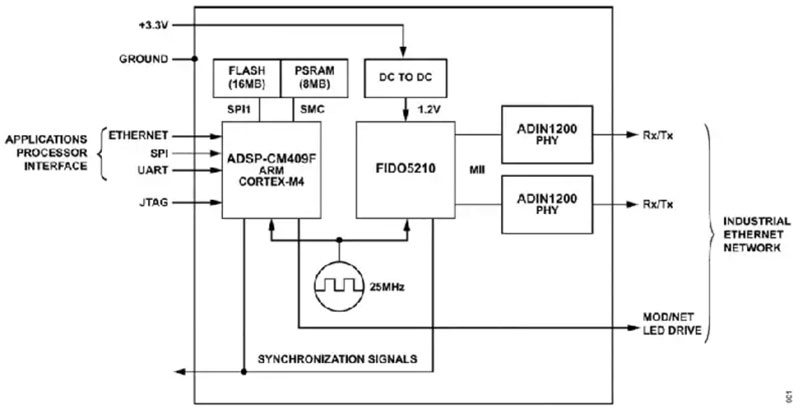
ADIN2299 模块具有适合嵌入式应用的小尺寸,以及低功耗和低延迟的特点。该??槭且恢秩娴?、预先经过测试的解决方案,能为应用处理器管理工业协议和网络流量,并加速 IE 与现场设备的集成。这种解决方案包括一个通信控制器、协议栈、闪存、RAM、从控制器和两个 PHY 接口,以及 EtherCAT、PROFINET 实时 (RT) 或同步实时 (IRT) 和 EtherNet/IP 网络所需的特定软件(图 3)。


如何快速、经济地将工业以太网添加到工业 4.0 设备中
图 3:ADIN2299 ??榫哂惺屎锨度胧接τ玫男〕叽?,并有两个以太网 PHY(右)。(图片来源:Analog Devices)


ADIN2299 嵌入式 IE ??橹械?PHY 使用两个 ADIN1200 低功耗、单端口 10 Mbps 和 100 Mbps 以太网收发器。ADIN1200 有一个节能型以太网 PHY 核心、模拟电路、输入和输出时钟缓冲、管理接口和子系统寄存器、MAC 接口和控制逻辑。ADIN1200 的其他特点包括:

· 符合 10BASE-Te/100BASE-TX IEEE 802.3 标准
· 媒体独立接口 (MII)、精简型 MMI (RMII) 和精简型千兆 MMI (RGMII) MAC 接口
        100BASE-TX RGMII 延迟:发送 <124 ns,接收 <250 ns
        100BASE-TX MII 延迟:发送 <52 ns,接收 <248 ns
· 符合
        IEC 61000-4-4 电气快速瞬变 (EFT) (±4 kV)
        IEC 61000-4-5 浪涌 (±4 kV)
        IEC 61000-4-6 传导抗扰度
        EN55032 辐射和传导发射(A 级)
· -40°C 至 +105°C 环境工作范围
· 1.8 V 时,100BASE-TX 的功耗为 139 mW
· 5 × 5 mm,32 引线框架芯片比例封装 (LFCSP)(图 4)


如何快速、经济地将工业以太网添加到工业 4.0 设备中
图 4:ADIN1200 以太网收发器坚固耐用,其 5 mm2 LFCSP 封装支持紧凑型解决方案。(图片来源:Analog Devices)


结语

PROFINET、EtherNet/IP 和 EtherCAT 等 IE 协议可以支持工业 4.0 所需的低延迟自动化和控制网络接口的需求。为了在确?;ゲ僮餍缘耐奔铀?IE 部署并降低成本,Analog Devices 推出了一款具有高效 PHY 的参考设计和丰富的预认证软件套件。

(来源:ADI公司,作者:Jeff Shepard)


免责声明:本文为转载文章,转载此文目的在于传递更多信息,版权归原作者所有。本文所用视频、图片、文字如涉及作品版权问题,请联系小编进行处理。


推荐阅读:

数字控制回路的模拟组件(模拟控制器转向易于编程的数字控制环路)

一文带你了解传输线理论

细数心脏起搏器和ICD之间的差异

浅谈智能座舱中RTC时钟应用

详解变频器的5种控制方式


特别推荐
技术文章更多>>
技术白皮书下载更多>>
热门搜索

关闭

?

关闭