桃花源qm花论坛(品茶),凤楼阁论坛官网入口网址,一品楼品凤楼论坛最新动态,风楼阁全国信息2024登录入口

你的位置:首页 > 电源管理 > 正文

板载电源:定制还是标准?

发布时间:2023-08-03 责任编辑:lina

【导读】在嵌入式系统设计中设计电路板的电源部分时,很容易从目录中选择标准??椤H缃?,许多供应商提供各种优质产品,无论是隔离砖还是非隔离负载点模块 (POL)。


在嵌入式系统设计中设计电路板的电源部分时,很容易从目录中选择标准???。如今,许多供应商提供各种优质产品,无论是隔离砖还是非隔离负载点???(POL)。

效率高、质量和可靠性好、成本有竞争力——您还想要什么?但与往常一样,事情并不像看起来那么简单。尽管使用标准模块的电源系统在许多情况下可能是一个很好的解决方案,但定制设计通常可以以更低的成本提供更好的性能。本文探讨了在使用标准或自定义解决方案之间进行明智权衡时涉及的一些问题。

电源要求

在本次讨论中,我们将考虑使用分布式电源架构的产品中的典型卡电源系统,其中每张卡的输入电压为 -48V。这种电源架构在电信和高端计算应用中非常常见,并在电信计算架构 (ATCA) 设备标准中进行了指定。

在大多数应用中,分布式电源系统中使用的每个卡必须在-48V 输入和低压输出之间提供电气隔离,以满足安全要求。下面的表 1列出了该示例的基本要求。

表1“卡电源系统要求

输入要求由应用程序设置,并且通常对于系统中的每张卡来说都是通用的。每张卡的其他要求都不同,以适应所使用的组件。

标准??榻饩龇桨?/p>

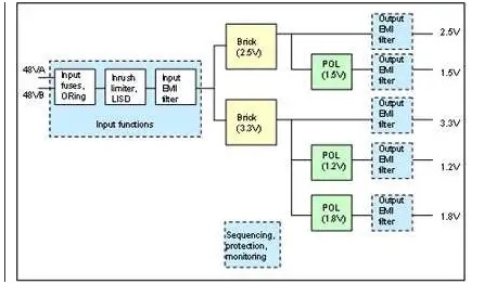
下面的图 1 显示了使用标准电源??槁闵媳?1 中的电源要求的可能解决方案。在此示例中,两个砖块用于高功率输出,而 POL ??橛糜谄渌鍪涑觥U庋矢?,并且可以轻松满足2.5V先于3.3V启动的要求。


板载电源:定制还是标准?
图1 “使用标准??榈目ㄉ系缭聪低?/p>


请注意,砖块功率输出必须足以驱动 POL 以及直接输出。假设 POL 的效率为 90%,则 2.5V 砖输出必须至少为 19A(17A 直接加上 1.5V POL 的 2A)。同样,3.3V 砖必须至少为 17A(11A 直接加上 1.2V 和 1.8V POL 的 5.7A)。

这种设计方法具有设计时间短的优点,并且可以从多个供应商处获得各种砖和 POL。如果需要,可以在开发过程中使用不同的模块轻松更改输出电压或电流。然而,brick 和 POL 在启动和故障期间独立运行。

需要外部电路来满足输入启动和关闭、浪涌电流限制、输出排序和?;さ南低彻娓?。对于噪声敏感的应用,可能需要将电源电路开关频率与系统时钟同步,但这不能用标准块或 POL 来完成。每个??槎加凶约旱钠德?,每个供应商都不同。

由于砖块和 POL 仅适用于特定功率级别,因此通常需要选择输出功率略高于卡所需的??椤;贡匦胝房悸怯τ弥兴璧娜冉刀?,每个供应商的热降额可能有所不同,并且这使得多个来源的变得复杂。因此,并且由于需要外部电路,使用标准模块的电源系统通常比定制解决方案更昂贵。

定制电源解决方案

作为标准模块的替代方案,定制电源解决方案提供了优化设计以准确满足卡需求的可能性。下面的图 2 显示了满足相同卡电源要求的定制电源??椋?1)。该电源??榘ㄋ?DC-DC 转换和隔离功能以及排序和?;すδ?,取代了之前图 1 中使用的砖块和 POL。


板载电源:定制还是标准?
图 2 – 定制卡上电源???/p>


请注意,本示例中的输入功能不包含在定制电源??橹小U馐沟?EMI 滤波可以在系统集成测试期间轻松优化,而无需重新设计电源???,对于噪声敏感应用来说是一种很好的方法。

在其他应用中,噪声过滤可能不太重要,电源??榭梢园ㄊ淙牍δ埽缦峦?3所示。即使在这种情况下,输入保险丝通常位于模块外部,因为它们必须尽可能靠近卡输入连接器放置以满足安全要求。


板载电源:定制还是标准?
图3“完全定制的卡上电源解决方案


定制设计方法避免了功能重复,并允许优化电源电路,以的成本满足卡的要求。??樯杓瓶梢员Vな涑雠判蚝凸收媳;?,并且可以通过从单个时钟驱动所有功率转换级来降低开关噪声。

此外,定制电源模块比标准??樾枰俚?PCB 面积,并且可以优化物理封装(尺寸、引脚排列、安装、冷却)以适应应用。然而,需要大量的设计时间和精力,因此这种方法更适合中到大批量应用。

分立电源解决方案

另一种选择是将电源组件直接安装在卡上,而不是使用单独的电源??椤?梢杂呕杓埔宰既仿憧ǖ男枨螅⑶铱梢酝ü缭茨??PCB 来降低材料成本。

如下图 4所示,该框图与图 3 中的完整自定义模块基本相同。但是,用于实现功能的组件可能会有显着不同,因为它们必须与整个卡组装流程兼容。


板载电源:定制还是标准?
图4“分立电源电路


例如,通常不可能像电源模块那样在 PCB 内嵌入平面变压器或功率电感器。PCB 的层数和铜厚度也可能使其不太适合用作功率半导体的散热器。

分立电源设计方法还使测试和故障排除变得更加困难,因为输出直接连接到卡的其余部分。过压?;せ虻缌飨拗频裙δ芪薹ㄇ崴刹馐?,否则会冒着发生故障时卡损坏的风险,甚至输出纹波和负载调节也不容易测量。如果出现故障,排除故障时必须考虑卡上其他电路可能已损坏的可能性。一般来说,这种类型的电源系统设计适合大批量、低成本的电路板,其中测试不那么广泛,并且不需要故障排除和维修。

表2“标准、定制和分立电源解决方案的比较

结论

如上表 2所示,总结了每种设计方法的主要优点(以粗体显示)和缺点,虽然电源系统的选择取决于多种因素,但一些一般性结论是明确的。

基于标准??榈慕饩龇桨柑峁┝肆己玫牧榛钚院投痰纳杓剖奔洌赡芗鄹癜汗?。在另一个极端,分立解决方案成本,但设计、制造和测试更加困难。在许多应用中,定制电源??榭梢蕴峁┝己玫钠胶?,具有出色的性能,并且易于制造,且成本比标准模块更低。


免责声明:本文为转载文章,转载此文目的在于传递更多信息,版权归原作者所有。本文所用视频、图片、文字如涉及作品版权问题,请联系小编进行处理。


推荐阅读:

使用SiC MOSFET和Si IGBT栅极驱动优化电源系统

专访荣湃半导体:深入布局新能源汽车电动化,助推能源行业发展

一文解读GNSS信号对网络中授时应用的益处

数字控制器补偿模拟控制器

无需更换/拆除设备,这个直接将智能带入边缘的技术是?



特别推荐
技术文章更多>>
技术白皮书下载更多>>
热门搜索

关闭

?

关闭