【导读】电源模块以高集成度、高可靠性、简化设计等多重优势,受到许多工程师的青睐。但即便使用相同的电源???,不同的用法也会导致系统的可靠性大相径庭。使用不当,非但不能发挥模块的优势,还可能降低系统可靠性。
相信各位电路设计者在阅读DC-DC隔离电源??榈氖菔植崾?,第一时间关注的往往是首页的电源参数,如功率、输入电压、输出电压、效率、工作温度、耐压等级等……但其实在实际应用中,数据手册中的“电路设计与应用”一节内容同样重要,它为用户在实际外围电路设计过程中提供了宝贵的参考电路经验。如果电源模块的外围电路设计使用不当,非但不能发挥??榈挠攀疲箍赡芙档拖低晨煽啃?,本次我们就来谈谈一些电源模块外围电路设计核心要点。
1.两级浪涌防护电路,使用不当适得其反
电源??樘寤。贓MC要求比较高的场合,需要增加额外的浪涌防护电路,以提升系统EMC性能。如图1所示,为提高输入级的浪涌防护能力,在外围增加了压敏电阻和TVS管。但图中的电路(a)、(b)原目的是想实现两级防护,但可能适得其反。如果(a)中MOV2的压敏电压和通流能力比MOV1低,在强干扰场合,MOV2可能无法承受浪涌冲击而提前损坏,导致整个系统瘫痪。同样的,电路(b),由于TVS响应速度比MOV快,往往是MOV未起作用,而TVS过早损坏。

图1.两级浪涌防护
增加一个电感,构成两级防护电路。如电路(c)、(d)所示,串入一个电感,将防护器件分隔成两级,对高频浪涌脉冲,电感具有较大的阻抗,因此首先起作用的是前端的压敏电阻,而后端的压敏和TVS能够进一步吸收残压?;つ??。另外,即使是单级防护,增加电感也能起到一定的作用,避免浪涌电压直接加到??槭淙攵?。
2.输出滤波电容过大,导致??橐斐?/strong>
电源??槭涑龆送ǔM萍鲈黾右欢ǖ穆瞬ǖ缛?,但在使用过程中,由于认识不足等原因,使用了过大的输出滤波电容,既增加了成本又降低了系统的稳定性。

图2.容性负载过大
如图2中的电路(a)所示,一个3W的??椋涑鍪褂昧?000uF的电容,而通过查阅产品手册了解到,??榻ㄒ樽畲笫涑龅缛菸?00uF。输出电容过大可能导致启动不良,而对于不带短路?;さ奈⒐β蔇C-DC??椋涑龅缛莨笊踔量赡艿贾履?橛谰盟鸹?。
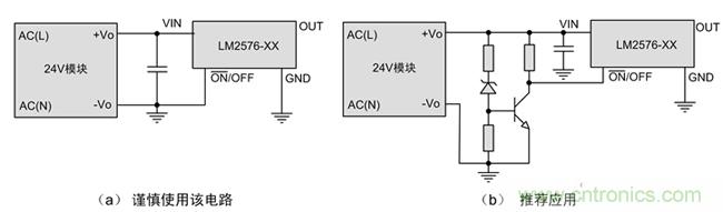
3.接开关电源芯片,注意启动不良
如图3所示,电源??榈氖涑龅缪故侵鸾ソ⒌模缏罚╝)的LM2576没有设计欠压锁定,在VIN电压较低时即开始启动,若OUT负载过重,可能被24V??槲笈形搪坊蛉菪愿涸毓?,从而导致启动不良。

图3.增加欠压锁定
因此推荐使用电路(b),外置简单的欠压锁定,使24V??槭涑龅缪菇⒌皆ぶ弥岛笤倨舳疞M2576等外接开关电源芯片,可以很大程度上避免启动不良问题。
或者可以使用功率余量更大的电源模块, ON/OFF引脚也可以连接到MCU进行控制。
4.双路???,注意负载平衡
对于双路输出???,两路输出对负载的要求不同,这类??橥ǔV欢云渲幸宦方形妊狗蠢。硪宦吠ü溲蛊黢詈洗锏剿璧牡缪?。
当稳压主路负载过重辅路过轻时,辅路电压会飘高较多,此时辅路对电压要求严格时,需增加三端稳压器。而当非稳压辅路负载过重主路过轻时,可能出现输出电压不稳定或者辅路电压过低的情况,此时需给主路增加假负载。
5.并联与冗余,不是一回事
当手头有两个相同的模块,而单个的功率不足时,很自然的想到两个模块并联使用,以满足功率要求,但将普通电源模块并联使用提升功率的方法存在极大隐患,输出电压偏高的模块需提供过大的电流而导致??楣β?。

图4.冗余应用
如上图电路(a)所示,负载需5W功率,超出单个??榈拇啬芰?,则其中一个??榭赡艽嬖诔汉墒褂玫那榭?。对于此种应用,需使用单个大于5W功率的??椋热鏩Y0JGB12P-10W。而电路(b)则不然,每个??榈墓β示苈愀涸氐男枰耸笔粲谌哂嗌杓?。
6.钽电容虽好,放在电源输入输出需谨慎
钽二氧化锰电容比较容易击穿短路,抗浪涌能力差,开机时或外部供电接入时,很可能形成较大的浪涌电流或电压,造成钽电容的烧毁短路或过压击穿,在未做严格评估的情况下,建议使用陶瓷电容或电解电容。




