桃花源qm花论坛(品茶),凤楼阁论坛官网入口网址,一品楼品凤楼论坛最新动态,风楼阁全国信息2024登录入口

你的位置:首页 > 电源管理 > 正文

福利到!简析半桥谐振DC-DC变换器得三种运行模式

发布时间:2015-08-24 责任编辑:echolady

【导读】本文详细讲述了半桥LLC谐振型DC-DC变换器的三种不同的运行模式,并且详细分析了fm<fs<fr开关频率的运行模式,针对四个工作阶段进行了详细的阐述。下面就跟小编一起去了解半桥谐振DC-DC变换器开关频率的运行模式。

半桥LLC谐振型的DC-DC变换器在日常运行中拥有三个不同的运行模式,也因此能够适应多种环境下的应用需求。由于此前我们曾经专项分析过fs=fr运行模式的工作过程和运行特点,因此今天本文将会重点针对fm<fs<fr运行模式进行简要分析,帮助工程师了解其工作运行状态和运行特点。

fm<fs<fr开关频率运行简析

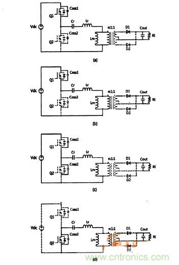
下面分析LLC谐振DC-DC变换器开关频率fm&lt;fs&lt;fr的工作原理,这是LLC最常用的工作区域,此时原边开关管实现零电压开通,副边整流二极管实现零电流关断,该工作区称为Boost区,电路工作在过谐振状态下的主要波形图如图1所示。图2显示的是fm&lt;fs&lt;fr的开关控制时序表,下图中图3显示各个阶段的主要工作波形和等效电路图。

福利到!简析半桥谐振DC-DC变换器得三种运行模式
图1fm<fs<fr时主要工作波形图
福利到!简析半桥谐振DC-DC变换器得三种运行模式
图2fm<fs<fr开关控制时序表
福利到!简析半桥谐振DC-DC变换器得三种运行模式
图3fm<fs<fr时各阶段的等效电路

工作阶段1:t0-t1

在这一工作阶段中,半桥LLC谐振转换器的MOS管Q1和整流管D1是导通的,谐振电流ir则按正弦形式增加。激磁电感电流如按线性上升,两者之差通过副边整流后传输至负载端。变压器原边电压被副边箝位于nV0,此阶段内只有Lr和Cr参与谐振,Lm不参与谐振。

工作阶段2:t1-t2

在这一工作阶段中,半桥LLC谐振转换器在t1时刻谐振电流ir等于激磁电流im,此后,激磁电感Lm开始参与与Lr、Cr谐振,因为谐振电流等于激磁电流,变压器原副边断开,整流管Dl关断(D2亦截止)。

工作阶段3:t2-t3

在这一工作阶段中,半桥LLC谐振转换器的激磁电流im将其存储的能量转移到谐振电容Cr,在这种模式下,实现升压(Boost)作用,此时直流电压增益大于1。副边整流二极管Dl零电流关断,变压器原副边脱开,谐振网络不向负载端传递能量。此时的Lm两端电压不再受箝位限制,Lm和Lr、Cr将一起参与谐振.在此阶段内为下一阶段的Q2的ZVS创造了条件。

工作阶段4:t3-t4

在这一工作阶段中,半桥LLC谐振转换器在t3时刻以后Q1关断,谐振电流ir流过MOS管Q2的体二极管,因此在t3时刻,MOS管Q2实现了零电压开通。t4时刻以后,电路工作在下半个周期,其工作情况与上述四个个阶段完全对称,这里也不再重述。

通过对半桥LLC谐振DC-DC变换器的fm&lt;fs&lt;fr开关频率运行工作状态分析,我们可以看到,当开关频率fs小于fr的条件下,LLC原边开关管工作在ZVS状态,而副边整流二极管工作在ZCS状态,从而电路中的所有功率半导体器件都实现了软开关:对于原边开关管来说减小了开关损耗。对于副边整流二极管来说减小了反向恢复带来的损耗,此时的整流二极管不存在电压尖峰,可以采用耐压值更低的二极管(导通压降也会更低,成本降低,导通损耗就会更?。?。

相关阅读:

谐振型DC-DC变换器实现ZVS、ZCS 条件,要达到什么条件?
对比分析:DC-DC变换器的硬开关MOS和IGBT损耗对比
经典集萃:浅析LLC半桥谐振型DC-DC变换器

要采购开关么,点这里了解一下价格!
特别推荐
技术文章更多>>
技术白皮书下载更多>>
热门搜索

关闭

?

关闭