桃花源qm花论坛(品茶),凤楼阁论坛官网入口网址,一品楼品凤楼论坛最新动态,风楼阁全国信息2024登录入口

你的位置:首页 > 电源管理 > 正文

如何将总线式测控技术应用于智能电源监控系统中

发布时间:2013-01-07 责任编辑:Lynnjiao

【导读】电源测控涉及到数据的测量、控制、通信和人机对话等技术,其中测量与控制方案的合理性是电源系统可靠性的关键。本文针对这一点,着重探讨了一种总线式测控方案在智能高频开关组合电源中的具体应用。

智能高频开关组合电源,一般采用双路市电通过电气互锁作为交流输入,并提供防雷措施和用户交流分路。其输入的交流经高频开关整流??檎骱?,产生用户所需要的直流电(通常有12V、24V、48V、110V、220V等电压等级),然后将输出直流连接到电池组、用户直流分路上,这就是智能高频开关组合电源的基本原理,如图1所示。

设计原理

电源监控系统需对电源的各种模拟量,开关量进行精确测量,它包括:交流单元的电压、电流、频率,防雷??榧敖涣鞣致返墓ぷ髯刺?;直流单元的系统合闸母线电压、控制母线电压,各控制母线分支电流及工作状态;电池单元的电池组电压和电流,单节电池电压,电池温度及充电和开关量(门窗开关、空调开关,火警、水警、烟警,有无人职守等)情况;绝缘检测单元的各母线支路的绝缘状态;每个整流模块运行参数的瞬态变化情况;以及对市电切换,降压硅堆调压,电池管理(均充、浮充、限流、稳流、放电测试、电池温度补偿、馈线电阻补偿),多级电池深放电?;ぃ没Ц婢诘愕冉惺凳笨刂?;对各种运行参数进行分类设置,及时响应远程用户的集中监控的各种要求;同时还要考虑系统电气设计的合理性,装配和调试的可操作性,工程服务的易维护性。根据以上功能情况,特提出如下的测控方案,如图2所示。

智能高频开关电源原理框图
图1:智能高频开关电源原理框图

电源监控系统总线测控原理框图
图2:电源监控系统总线测控原理框图

该电源监控测试方案的明显特点是:在测控总线BUS上外挂了交流检测板,直流检测板,电池检测板,绝缘检测板,环境检测板,电气控制板。这6种板可根据用户需要进行取舍,并且在整机电气设计时,这些板可根据设计人员的需要任意布局,克服了那种把所有信号线一律接到监控器背部的各种接口上的弊端,从而大大提高了装配调试和工程服务人员的工作效率,同时克服了各种检测、控制板与监控器以通信方式进行数据交流而导致测控实时性、可靠性大打折扣的弱点。

测控主板以PCF80C552为核心
图3:测控主板以PCF80C552为核心

硬件设计

测控主板

测控主板以PCF80C552为核心,向外扩展了INS8250A通用异步收发器UART芯片,作为电源系统实现集中监控或远程监控的通信接口。在图3中,PCF80C552的PWM0、PWM1用作整流模块内部反馈环节的控制信号接口,MAX813作为单片机的自动复位电路,ATMEL93C66用作保存系统运行参数的EEPROM,在P0口的8位数据总线上扩展了4×4行列式键盘接口和240×128点阵式的液晶显示接口。另外扩展了由D触发器SN74HC574、反相器SN74HC04、施密特触发器SN74HC14构成的8位数据驱动接口,作为总线测控接口(插座X1的脚9~16)的8位输入控制信号(DC0—DC7),总线测控接口插座X1的脚1、3、5分别是检测板的+15V、GND、-15V,脚7、8分别是检测板输出的数字信号Digital、模拟信号Analog,来自各检测板的开关量Digital分时送入单片机的P1.0口。12位并行输出的高速A/D转换器MAX120,把每块检测板的Analog信号精确、高速、分时地转换成12位Digital信号送入80C552的P5(低8位)和P4口(高4位),并且通过总线测控接口的8位输入控制信号(DC0—DC7)可以对电气控制板进行驱动触发。所以,总线测控接口兼有单片机的前向通道和后向通道的双重作用,实现模拟信号、数字信号的检测和电气控制。

总线测控接口电路

如图4所示,在测控总线上外挂了8块检测、控制板(特殊用户需要多组电池,故设计了3块电池检测板),而且控制信号(DC0—DC7)与采样信号(Analog、Digital)的硬件电路是各检测板的共享通道。这就需要单片机能自动识别8块检测板。因此,必须对8位控制信号(DC0—DC7)进行译码。由模拟转换开关U5(SN74HC4051)和地址开关X2构成8块检测板的板选地址电路,DC5、DC6、DC7分别送入U5的A、B、C口,以000~111选通X0~X7,在调试时,只须打开每块检测板上的X2地址开关中的一路即可起到板选功能(见表1)。然后,板选信号送入到与非门U8A、U8B、U8C(SN74HC10)单元,同时经施密特触发器U6B(SN74HC14)单元送入或门U7A(SN74HC4075)单元。如果板选信号为低电平(L)时,U7A、U8A、U8B、U8C的输出信号为高电平(H),分别对模拟开关U1、U2、U3、U4的INH口进行封锁,检测板无信号输出或输入;如果板选信号为高电平(H),U7A和U8A、U8B、U8C的输出只取决于DC3、DC4。当DC4、DC3为00时,只有U7A输出低电平去选通U1,U8A、U8B、U8C输出为H而使U2、U3、U4被锁住;当DC4、DC3为01时,只有U8A输出L选通U2;当DC4,DC3为10时,U8B选通U3;当DC4、DC3为11时,U8C选通U4(见表2)。DC3与DC4经过由小或非门(由U7B、U6E、V4组成)和大或非门(由V1、V2、U6A和R2构成),实现对U5的选通控制。在U1~U4其中之一被选通时,通过DC0、DC1、DC2分别送入其A、B、C口,从而控制模拟转换开关对输入信号X0~X7的数值进行采样,或对输出信号X0~X7进行控制(见表3)。U1、U2共采集16路数字信号DIG1~DIG16(如:防雷状态,交流分路和直流分路开关状态,母线绝缘状态等),被选通的数字信号(Digital)分时地经过总线测控接口的脚7输入到CPU(PCF80C552)的P1.0口;U3、U4共采集16路模拟信号AN1~AN16(如:电压,电流,温度,频率等),被选通的模拟信号分时地经过总线测控接口的脚8输入到12位A/D转换器MAX120的AIN口,经MAX120高速精确转换后并行输出的12位Digital信号送入到CPU的P5(低8位),P4(高4位)口。总之,DC7,DC6,DC5可选定8块检测板,DC4,DC3可选定4只模拟转换开关,DC2,DC1,DC0可选定每只模拟转换开关的8路信号,按照乘法原理,该总线测控接口通过DC0-DC7可以共检测8×4×8即256路信号。表4列出了8块检测板的信号访问地址,实际上,绝缘和电池检测板的DIG1~DIG16为模拟量,电气控制板的AN1~AN16为触发数字量。

总线测控接口电路
图4:总线测控接口电路

直流、交流、环境检测板的巡检流程图
图5:直流、交流、环境检测板的巡检流程图

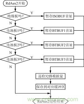
绝缘、电池检测板的巡检流程图
图6:绝缘、电池检测板的巡检流程图

表1:DC5~DC7译码表
DC5~DC7译码表

表2:DC3、DC4译码表
DC3、DC4译码表

表3:DC0~DC2译码表
DC0~DC2译码表
 
表4:检测板信号地址
检测板信号地址

需要说明的是,图4所示的总线测控接口电路只适用于直流、交流、环境检测板,其它检测板的总线测控接口电路需作适当调整。对于电气控制板,只要把U1~U4的X脚接地,X0~X7接上拉电阻后通过施密特触发器接上继电器,即可实现对32路继电器的控制。对于绝缘检测板,只要把U1~U4的X脚相连,然后连接到X1的脚8,即可实现对32路母线支路的绝缘检测。而对于电池检测板,由于每只电池电压需经差动比例运算处理,故一只双8路模拟转换开关MAX397可选通8节电池,U7A、U8A、U8B、U8C控制信号可扩展4只MAX397,即可巡检32只电池。每节电池电压经分时处理后,产生的电池极性信号和电池修正电压信号分别输入到总线测控接口的Digital和Analog引脚。并且,3只电池检测板在软件上关联后最多可以测量96节电池。当然,根据用户需要,可以把其它检测板换成电池检测板,从而增加了电池检测的规模。

总线式测控技术是智能高频开关组合电源达到高可靠性、智能化、可维护性的基础,也是少人或无人值守的高效、可靠、低污染绿色电源的智能化核心技术之一。其显著特点是:
1)满足了各种型号电源的不同监控方案的要求;
2)软硬件的模块化极大地方便了新产品的开发工作;
3)增强了电气设计人员整机布局的灵活性;
4)提高了工程服务的维护效率。

要采购开关么,点这里了解一下价格!
特别推荐
技术文章更多>>
技术白皮书下载更多>>
热门搜索

关闭

?

关闭