- 闭环霍尔电流传感器在车用电源系统中的应用
- 闭环霍尔传感器的工作原理
- 通过反馈控制电源系统的输出电流
- 电源系统的?;?/li>
1 引言
地面车用电源系统(以下简称电源系统)输出电流的检测与控制,直接关系着电源系统工作的稳定性和可靠性,并影响车辆的运行状况及车辆的可操作性。由于车辆复杂的使用条件导致车用电源的负载变化较大,随之电源的输出功率也将发生较大变化,若对电源的输出电流不加限制,会造成电源因过载而发热,影响其功率输出,严重情况下会导致电源永久失效。
闭环霍尔电流传感器(以下简称传感器)在车用电源系统中的应用,实现了对电源系统输出电流的隔离测量,并通过反馈控制电源系统的输出电流。当电源的输出电流接近电源系统的设计功率输出时,电源输出电流将不再增加,从而限制了电源系统的输出功率,保护了电源系统不会因用电负载的变化而损坏。
2 闭环霍尔传感器的工作原理
自1879年美国物理学家Edwin Herbert Hall发现霍尔效应以来,霍尔技术被越来越多地应用于工业控制的各个领域。随着元器件工艺技术的发展,由霍尔器件应用开发的霍尔电流、电压传感器的性能也有了很大提高,特别是闭环霍尔电流、电压传感器的研制成功,大大地扩展了该项技术的应用领域。
2.1 霍尔效应及霍尔器件
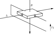
霍尔效应是霍尔技术应用的理论基础,当通有小电流的半导体薄片置于磁场中时(如图1),半导体内的载流子受洛伦兹力的作用发生偏转,使半导体两侧产生电势差,该电势差即为霍尔电压VH,VH与磁感应强度B及控制电流IC成正比,经过理论推算有式(1)关系。
VH=(RH/d)×B×IC(1)
式中:B为磁感应强度;IC为控制电流;RH为霍尔系数;d为半导体厚度。
式(1)中,若保持控制电流IC不变,在一定条件下,可通过测量霍尔电压推算出磁感应强度的大小,由此建立了磁场与电压信号的联系。根据这一关系式,人们研制出了用于测量磁场的半导体器件,即霍尔器件。
图1 霍尔效应原理

2.2 闭环霍尔电流传感器的工作原理
闭环霍尔电流传感器是利用霍尔器件为核心敏感元件用于隔离检测电流的模块化产品,它的工作原理是霍尔磁平衡式(或称霍尔磁补偿式、霍尔零磁通式)。众所周知,当电流流过一根导线时,将在导线周围产生磁场,磁场的大小与流过导线的电流大小成正比,这一磁场可以通过软磁材料来聚集,然后用霍尔器件进行检测,由于磁场的变化与霍尔器件的输出电压信号有良好的线形关系,因此,可利用霍尔器件测得的输出信号,直接反映出导线中的电流大小,即
I∝B∝VH(2)
式中:I为通过导线的电流;B为导线通电流后产生的磁感应强度。
当选择适当的比例系数后,上述关系可以表示为等式。
[page]
对于霍尔输出电压信号VH的处理,人们设计了许多种电路,但总体来讲可分为两类,一类为开环(或称直测式、直检式)霍尔电流传感器;另一类为闭环(或称零磁通式、磁平衡式)霍尔电流传感器。
针对霍尔传感器的电路形式而言,人们最容易想到的是将霍尔器件的输出电压用运算放大器直接进行信号放大,得到所需要的信号电压,由此电压值来标定原边被测电流大小,这种形式的霍尔传感器通常称为开环霍尔电流传感器??坊舳衅鞯挠诺闶堑缏沸问郊虻?,成本相对较低;其缺点是其精度、线性度较差,响应时间较慢,温度漂移较大。为了克服开环传感器的不足,上世纪80年代末期,国外出现了闭环霍尔电流传感器。1989年,北京七○一厂引进国外技术在国内率先开展闭环霍尔电流传感器的研制和生产。经过十几年的努力,这种传感器在国内逐渐为广大用户了解和应用。
闭环霍尔电流传感器的工作原理是磁平衡式的(如图2),即原边电流(IN)所产生的磁场,通过一个副边线圈的电流(IM)所产生的磁场进行补偿,使霍尔器件始终处于检测零磁通的工作状态。当原副边补偿电流产生的磁场在磁芯中达到平衡时,即
N1×IN=N2×IM(3)
式中:N1为原边线圈的匝数;N2为副边线圈的匝数。
由式(3)可以看出,当已知传感器原边和副边线圈匝数时,通过测量副边补偿电流IM的大小,即可推算出原边电流IN的值,从而实现了原边电流的隔离测量。
图2 闭环霍尔电流传感器的工作原理

3 闭环霍尔电流传感器的主要性能
闭环霍尔电流传感器是近10年来出现的高技术模块化产品,其性能大大优于开环霍尔电流传感器,同时与传统的分流器或互感器的电流测量方法相比亦有许多优点。闭环霍尔电流传感器主要有以下特点:
1)可以同时测量任意波形电流,如:直流、交流、脉冲电流;
2)副边测量电流与原边被测电流之间完全电气隔离,绝缘电压一般为2kV~12kV;
3)电流测量范围宽,可测量额定1mA~50kA电流;
4)跟踪速度di/dt>50A/μs;
5)线性度优于0.1%IN;
6)响应时间<1μs;
7)频率响应0~100kHz。
[page]
4 传感器在车用电源系统中的应用
闭环霍尔电流传感器的应用范围很广,目前已成功地应用于逆变焊机,发电及输变电设备,电气传动,数控机床等工业产品上。表1以额定电流为300A的CHB-300S型霍尔电流传感器为例,说明这种传感器的应用。
表1 CHB-300S型霍尔传感器的主要性能参数

在某型地面车辆上装备了一套独立的大功率发电系统,该发电系统设计选用了CHB-300S型闭环霍尔电流传感器作为系统电流检测部件,通过对传感器的输出信号进行处理,设定限流工作点,确保发电系统的输出功率不高于发电机的额定功率。闭环霍尔电流传感器CHB-300S的应用,很好地实现了上述应用目的。如图3所示,发电机G输出正端汇流母线穿过CHB-300S/SP1的原边电流穿孔,由传感器CHB-300S/SP1检测发电机的输出电流,传感器的输出IM与发电机控制盒相连,由发电机控制盒设定发电机的输出电流控制点,依据此信号,对发电机的输出电流加以限制,避免发电机因输出功率过高而发生故障或损坏,从而保证发电系统正常工作。
图3 CHB-300S传感器的应用

5 结语
该传感器能够满足车用发电系统对电流检测的技术要求,已在多套地面车辆的发电系统中应用,并按相关标准进行了实验测试,测试结果受到专家的肯定。



