- 探究车载应用中的电流检测技术
- 电路必须配置为衰减器
- 采用高共模电压差动放大器要增加电阻网络
要求电流检测的车载应用
车载应用中的电流检测包括控制通过螺线管和喷射器的电流。例如,在柴油喷射时,我们用 48V 或更高的电压迅速地将感应喷射器的电流提高到 20 安培。一旦达到 20A,电流检测电路就会向控制电路提供反馈信号,以保持喷射器电流为 20A 不变。
电流检测技术通??稍銮恐匾男阅芑蛱匦?。电动车窗系统是展示电流检测技术优势的一个很好的例子。由于马达扭矩与电流成正比,因此马达在扭矩过大的情况下就会停止工作,比方说人的胳膊卡在电动车窗上,或者机械系统发生故障时,马达都会停止工作。
电流检测的方法
负载或电源的低压侧或高压侧都可进行电流检测。共模电压是指分路 (shunt) 上的电压(不是分路上的差分电压),在低压侧检测为零伏。低压侧检测最简单,可采用最基本的放大器电路。低压侧检测的难点在于:低压侧检测会影响系统的接地端,可能还需要增加更多的线路,而且这种作法通常不利于故障诊断。
图 1 中的高压侧分路放大器可检测很高的电源电压上极低的差分电压(通常为 100mV 或更低),通常在车载应用中为 13.8V。不过,如果为无限制的 (unconditioned) 电池线路,那么会受瞬变影响:如果无意中将电池方向放错就会出现 –13.5V 的情况,如果出现负载突降或感应反冲,那么最大瞬变可达 72V。不妨设想,放大器通常采用 5~12V 的单电源供电(5V 的电源供电日益常见),这就需要放大器的输入引脚连接到共模电位,大大超过了放大器电源轨的限制。

图 1 在高压侧电流检测中,共模电压是主要问题
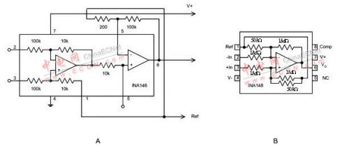
老式分路检测电路基于差动放大器,即周围带四个电阻来设置增益并提供差动输入的运算放大器 (operation amplifier)。这些电阻使运算放大器能接受超过其电源轨的共模电压。不过,这也会带来下面一些负面问题:一是电路必须配置为衰减器,在随后的运算放大器级中恢复增益,如图 2A 中的 IC 结构图所示,运算放大器的增益会成倍增大第一个放大器的偏置和漂移量,从而降低整体性能。二是采用高共模电压差动放大器要增加电阻网络,以使之在仍然只提供单位增益的同时能够接受较高的共模电压。高共模差动放大器带来的影响在于:运算放大器的噪声增益与共模衰减成正比,如图 2B 所示的差动放大器结构采用了 20:1 的内部共模衰减,此举使放大器的偏置、漂移和噪声都比运算放大器本身扩大了 20 倍。此外,较大的输入电阻也会造成较高的噪声。

图 2 可用于车载电流检测的电阻型高共模电压差动放大器
电流分路.是专门用于分路电流检测的高共模电压差动放大器,能够解决电阻型差动放大器的局限性。电流分路.与差动放大器相比的主要区别在于:其共模电压功能通常只扩展到正电压,而一些电流分路.允许共模接地。这会造成更多的衍生情况,我们随后还要谈到。共模电压功能也允许扩展到负电压。电流分路.从一开始设计时就是以单电源电压工作的,通常最低电压可达 2.7V。图 3 显示了两类电流分路.,分为电流输出型分路.和电压输出型分路.。电流输出型分路.通常静态电流较低,需要外部输出电阻,从而使终端用户能够设定增益。电压输出器件采用固定增益且不需要其他组件。

图 3 两大类电流分路.包括:A) 电流输出型分路.和B) 电压输出型分路.
车载应用的一般性技术要求
车载电流检测分为两大类型:一类是直接连接到电池,另一类是通过限制瞬态偏移的?;さ缏妨?。
上述情况会影响电流分路.上共模电压额定值的要求。车载的 12V 电子系统最高电压为 14.4V,但电池总线器件上的瞬态电压最高可达 75V,甚至会发生电池换极。
我们还要考虑到另一种共模情况:电源线路的分路开启,且接地短路的情况。这时共模电压为零。电流流动时必须进行检测,也就是说,放大器在零共模电压时也要能正常工作。
最后,我们不妨考虑一下如图 4 所示的脉冲宽度调制 (PWM) 螺线管驱动器的情况。在本例中,螺线管顶部开启时达到电池电压。开关关闭时,电压将回到二极管电压降大小的负电平上。这就要求电流分路.在低至 –2V 的共模电压下仍能工作。

图 4 PWM 应用中应进行电流检测,即便在共模电压降至二极管电压降大小的负电压的回扫期间也要进行检测。
电流比较
在许多应用中,电流应与某个设定值相比较。通常说来,进行电流比较还需要电流分路.、比较器和参考电压。此外,理想的比较器输出应与大多数常见的逻辑电路很好地兼容。图 5 给出了电流比较的例子。在本例中,将电流与采用 TI INA200 系列电流分路.和比较器的简单单电压结点进行了比较。R1 和 R2 形成分压器,以根据 INA200 系列比较器的内置 0.6V 电压结点来设置电压结点。(INA200 系列的增益很有特点:INA200 的增益为 20,INA201 的增益为 50,INA202的增益为 100。)

图 5 简单的单电压结点电流比较
某些系统需要不止一个电流限制电平。举例来说,系统以较低的电流限制作为故障即将发生的指示器,而以较高限制作为关闭系统的标志。INA206-INA208 系列电流分路.采用两个比较器来实现上述功能。某些系统会对较低限制采用延迟输出,以避免超出最低限制后引起不必要地触发瞬态偏移。图 6 中的电路将 INA206 电流分路.部分的输出反馈给两个比较器,这会生成一个有效的低输出警报,并为关闭 MOSFET 缓冲路径提供适当极性。
图 6 显示了电流与两个电压结点比较的电路。较低的电压结点激活警报输出,我们可为其配置一个适当的延迟电路,以避免错误的瞬态触发。较低的电压结点在比较器输入端内置阈值为 0.6V。Q1 为较高电压结点输出提供缓冲,通过电源开关 MOSFET 关闭电源,如果电流超过上限则启用 Q2。较高电压结点采用 INA206 的 1.2V 参考电压,INA206 具有避免在没有锁存功能的电压结点发生振荡的锁存功能。






