- 锂离子电池智能充电器设计
- 低电流调节阶段
- 恒流阶段
- 恒压阶段/充电终止
锂离子电池具有较高的能量重量和能量体积比,无记忆效应,可重复充电次数多,使用寿命长,价格也越来越低。一个良好的充电器可使电池具有较长的寿命。利用C8051F310单片机设计的智能充电器,具有较高的测量精度,可很好的控制充电电流的大小,适时的调整,并可根据充电的状态判断充电的时间,及时终止充电,以避免电池的过充。
本文讨论使用C8051F310器件设计锂离子电池充电器的。利用PWM脉宽调制产生可用软件控制的充电电源,以适应不同阶段的充电电流的要求。温度传感器对电池温度进行监测,并通过AD转换和相关计算检测电池充电电压和电流,以判断电池到达哪个阶段。使电池具有更长的使用寿命,更有效的充电方法。
设计过程
1充电原理
电池的特性唯一地决定其安全性能和充电的效率。电池的最佳充电方法是由电池的化学成分决定的(锂离子、镍氢、镍镉还是SLA电池等)。尽管如此,大多数充电方案都包含下面的三个阶段:
●低电流调节阶段
●恒流阶段
●恒压阶段/充电终止
所有电池都是通过向自身传输电能的方法进行充电的,一节电池的最大充电电流取决于电池的额定容量(C)例如,一节容量为1000mAh的电池在充电电流为1000mA时,可以充电1C(电池容量的1倍)也可以用1/50C(20mA)或更低的电流给电池充电。尽管如此,这只是一个普通的低电流充电方式,不适用于要求短充电时间的快速充电方案。
现在使用的大多数充电器在给电池充电时都是既使用低电流充电方式又使用额定充电电流的方法,即容积充电,低充电电流通常使用在充电的初始阶段。在这一阶段,需要将会导致充电过程终止的芯片初期的自热效应减小到最低程度,容积充电通常用在充电的中级阶段,电池的大部分能量都是在这一阶段存储的。在电池充电的最后阶段,通常充电时间的绝大部分都是消耗在这一阶段,可以通过监测电流、电压或两者的值来决定何时结束充电。同样,结束方案依赖于电池的化学特性,例如:大多数锂离子电池充电器都是将电池电压保持在恒定值,同时检测最低电流。镍镉、NiCd电池用电压或温度的变化率来决定充电的结束时间。

图1锂离子电池充电??橥?br />
充电时部分电能被转换成热能,直至电池充满。而充满后,所有的电能将全部被转换成热能。如果此时不终止充电,电池就会被损坏或烧毁??焖俪涞缙鞯绯兀ㄍ耆渎氖奔湫∮诹叫∈钡某涞缙鳎┰蚩梢越饩稣飧鑫侍?,因为这些充电器是使用高充电电流来缩短充电时间的。因此,对于锂离子电池来说,监测它的温度是至关重要的,因为电池在过充电时会发生爆裂,在所有的充电阶段都应该随时监测温度的变化,并且在温度超过最大设定值时立即停止充电。
2总体设计
充电电路由三部分:控制部分,检测部分及充电部分组成。如图1所示,采用F310单片机进行充电控制,单片机本身具有脉宽调制PWM型开关稳压电源所需的全部功能,具有10位A/D转换器。利用单片机A/D端口,构成电池电压,电流,温度检测电路。
单片机通过电压反馈和电流反馈信号,直接利用PWM输出将数字电压信号并转化成模拟电压信号,能够保证控制精度。
3控制部分电路设计
C8051F310单片机
①模拟外设
a.10位ADC:转换速度可达200ks/s,可多达21或17个外部单端或差分输入,VREF可在外部引脚或VDD中选择,内置温度传感器(±3℃),外部转换启动输入;
b.两个模拟比较器:可编程回差电压和响应时间,可配置为中断或复位源,小电流(〈0.5μA)。
②供电电压
a.典型工作电流:5mA、25MHz;
b.典型停机电流:0.1μA;
c.温度范围:-40~+85℃。
③高速8051微控制器内核
a.流水线指令结构:70%的指令的执行时间为一个或两个系统时钟周期;
b.速度可达25MI/s(时钟频率为25MHz时);
c.扩展的中断系统。
④数字外设
a.29/25个端口I/O:所有的口线均耐5V电压;
b.4个通用16位计数器/定时器;
c.16位可编程计数器/定时器阵列(PCA),有5个捕捉/比较???;
d.使用PCA或定时器和外部时钟源的实时时钟方式。
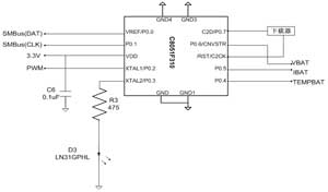
控制电路中如图2所示,P0.3口提供充电电源,P0.6口检测充电电压的大小,P0.5口检测充电电流的大小,P0.4口检测电池的温度。
充电电流由单片机脉宽调制PWM产生,充电电流由AD转换再经过计算得出。[page]
4充电部分及检测部分电路设计

图2控制电路接线图

图3充电电路与检测电路图
图3为充电电路与检测电路图。
①充电过程曲线

图4锂电池充电曲线
如图4所示,充电过程由预充状态,恒流充电状态和恒压充电状态组成。
②快速转换器
实现渐弱终止充电器的最经济的方法就是用一个快速转换器。快速转换器是用一个电感和/或一个变压器(需要隔离的时候用变压器)作为能量存储单元以离散的能量包的形式将能量从输入传输至输出的开关调节器反馈电路,通过晶体管来调节能量的传输,同时也作为过滤开关,以确保电压或电流在负载时保持恒定。


a开关闭合 b开关打开
图5快速转换器操作
快速调节器的操作是通过控制一个晶体管开关的占空比来实现的。占空比会自动增加以使电池流入更多的电流。当VBATT<VREF时,一个比较器会将开关闭合(参见图5a),电流流入电池和电容C,这个电流同时也存储在电感L中。VBATT持续升高,直到超过VREF,调节此时比较器将开关断开(参见图5b),存储在电感中的电流迅速下降直到二极管偏置,使得电感电流以减速度流入电池,电容C在电感电流衰减后开始放电。并且最后VBATT开始下降,当VBATT低于VREF时,比较器再次将开关闭合并开始另一次循环。在较大的范围内如果减小占空缩短闭合的时间,平均电压就会下降,反之亦然。因此可以通过控制占空比的方法调节电压或电流至所需要的值。
③电感的确定
电感对交流电是有阻碍作用的。在交流电频率一定的情况下,电感量越大,对交流电的阻碍能力越强,电感量越小,其阻碍能力越小。另外,在电感量一定的情况下,交流电的频率越高,电感对交流电的阻碍能力越大,频率越低,电感对交流电的阻碍能力越小。也就是说,电感有阻止交流电通过的特性。
其工作原理是这样的:当负载两端的电压要降低时,通过MOSFET场效应管的开关作用,外部电源对电感进行充电并达到所需的额定电压。当负载两端地电压升高时,通过MOSFET场效应管的开关作用,外部电源供电断开,电感释放出刚才充入的能量,这时电感就变成了电源继续对负载供电。随着电感上存储的能量地消耗。负载两端的电压开始逐渐降低,外部电源通过MOSFET场效应管的开关作用又要充电。依次类推在不断的充电和放电的过程中形成了一种稳定的电压,永远使负载两端地电压不会升高也不会降低,这就是开关电源的最大优势。
要确定快速转换器中电感的大小首先应假定晶体管的占空比为50%,因为此时的转换器操作操作效率最高。占空比由方程式1给出:
(其中T是PWM的周期在程序示例中T=10.5s)
占空比=ton/T(1)
至此就可以选择一个PWM的转换频率(如方程式2所示)PWM的转换频率越大,则电感的值越小,也越节约成本。
我的示例代码配置F310的8位硬件PWM是使用内部24.5MHz主时钟的256分频来产生一个95.7kHz的转换速率。
L=(Vi-Vsat-Voton)/2Iomax(2)
现在我们可以计算电感的大小了,假定充电电压Vi的值为15V,饱和电压Vsat的值为0.5V,需要获得的输出电压值为4.2V,并且最大输出电流IOMAX为1500mA,那么,电感的值至少应选为18H。
需要注意的是:在本电路中的电容仅仅是一个纹波衰减器,因为纹波与电容的大小成反比例关系,所以电容的值越大,衰减效果越好。




