中心议题:
- 便携式电子产品中电路保护的重要性
- ?;ぴ闹掷嗪凸ぷ髟?/strong>
- 新型过压器件的应用
解决方法:
- 在线路中应用MLV、PESD、PolySwitchTM元件
在电子产品中最重要的设计工作是电路设计。电路可分为两类:功能电路和?;さ缏贰9δ艿缏罚ㄈ绲缭吹缏?、振荡器电路、A/D变换电路等)是用来实现电子产品各种功能的;而保护电路(过流?;さ缏贰⒐贡;さ缏芳肮?、过压保护电路)是用来?;すδ艿缏罚允迪值缱硬返陌踩?、可靠性及耐用性的。
近年来,便携式电子产品发展迅速,如MP3、MP4、PMP、DVD、数码相机及摄像机,笔记本电脑、上网本(一种小型笔记本电脑)和智能手机等。这些便携式电子产品的主要特点是功能多、电路复杂、工作频率高、频带宽、信号传输率高,并且体积?。ㄈ坎捎肧MD元器件),这对电路保护提出了更高的设计要求。
在手机、笔记本电脑一类便携式电子产品中,由于其工作频率高、频带宽、要求高数据传输速率,电路?;ど杓频挠帕泳筒唤錾婕暗缱硬返陌踩?、可靠性和耐用性,同时也涉及到电子产品的性能质量及成本。所以,电路?;な堑缱硬飞杓频闹匾ぷ鳌?br />
电路?;さ闹匾?/strong>
现在的便携式电子产品中,电路?;さ姆段Ъ?,数量也多。这里举两个典型便携式电子产品来说明电路?;さ闹匾?。
1 手机
手机的发展从单一的通话到能实现听音乐、拍照、上网、看电视、GPS等功能的智能手机,电路愈加复杂,而相应的?;さ缏贩段б膊欢侠┱?。

图1 手机中需要保护的部件
2 笔记本电脑
笔记本电脑已成为一种时尚的便携式电子产品,最近开发出的“上网本”更受到年轻人的青睐。笔记本电脑比手机更复杂,其需要保护的部件范围更广(见图2)。

图2 笔记本电脑中需要保护的部件
这里要说明的是,图1及图2中的便携式电子产品还不是最新的产品,但也能看出来电路保护的范围之广及数量之多,可见保护电路在这些产品中的重要性。
正是这些?;ぴ骷攀迪至说缱硬返陌踩?、可靠性和耐用性,并且减少了用户的维修次数、维修费用及设有手机及笔记本电脑对工作带来的影响。
保护元器件的种类及工作原理
?;ぴ骷治啵汗鞅;?、过压?;ぜ肮鳌⒐贡;?。它们的基本工作原理如下。
1、过流保护
过流?;ぴ且恢址窍咝哉露认凳让舻缱瑁≒PTC),如图3所示。一旦有过流状态出现,过大的电流让?;ぴ⑷仁棺柚捣⑸浠?,由低阻态跃变为高阻态,从而限制电流,使被保护的电路免受过流损坏;在过流故障排除后,保护元件冷却,自动由高阻态转变为低阻态,恢复正常工作。这种?;ぴ莆愿词焦鞅;ぴ缣┛频缱庸镜腜olySwitchTM元件。

图3 PolySwitchTM元件工作电路 [page]
2、过压?;?/strong>
过压保护元器件并联在被?;さ牡缏飞希?)。在输入电压未过压时,过压?;ぴ骷矢咦杼?,其泄漏电流甚微;一旦输入电压过压时,过压保护元器件在瞬间提供低阻抗通路,并将电压钳位于安全的低电压,从而保护电路免受过压损害。当输入电压降落到正常工作电压时,过压?;ぴ骷嶙远指吹礁咦杼?。泰科电子公司的多层压敏电阻(MLV)及ESD?;ぴESD就是常用的过压保护元件。

图4 过压保护元件工作电路
3、过流、过压?;?/strong>
过流、过压保护器件是过流?;ぴ牍贡;ぴ槌傻哪?椋傻缏罚?,如图5所示。它能在输入电压过压或由于短路造成过流故障时,?;さ缏凡皇芩鸷?。

图5 过流、过压?;て骷ぷ鞯缏?br />
便携式产品的保护元器件的特点
为满足便携式电子产品对?;ぴ骷囊?,?;ぴ骷哂邢率鎏氐?。
1、性能
● 响应时间要短;
● 自身的功耗要小,可延长电池寿命;
● 性能稳定,并且寿命长;
● 不影响被?;さ缏返男阅埽?br />
● 满足对环境的要求(无铅,符合RoHs规范)。
2、封装及尺寸
● 贴片式(SMD)封装,满足SMT要求;
● 封装尺寸小(占PCB面积?。┘捌拭娓叨刃?。
3、其他
● 可以采用回流焊焊接工艺;
● 价格低,降低产品成本。
PolySwitchTM元件及其应用电路
PolySwitchTM元件是一种自复式聚合物非线性正温度系数(PPTC)热敏电阻。
PolySwitchTM元件的主要参数:在未过流时,其电阻值很?。ú煌亩疃ǖ缪瓜伦柚挡煌话阄愕慵?Omega;到几Ω);在过流发生时,其电阻值可达mΩ,电流极小接近“断开”,且断开时间(time-to-trip)更短。
该元件的封装尺寸??;电流为0.05~3A;电压为6~60V;常态时阻值??;通过UL、CSA。
该元件应用范围极广,主要为计算机、便携式电子产品、多媒体、游戏机、移动电话,同时也适用于汽车、工业控制及电池等。

图6 用PolySwitchTM元件实现过流保护
PolySwitchTM元件在便携式电子产品适配器(外接电源)中的过流?;と缤?所示。图中结构用了两个PolySwitchTM器件,可防止短路时损坏适配器。

图7 用PolySwitchTM元件对充电器进行?;?br />
充电器是便携式电子产品中是必要的附件,图7是充电器中PolySwitchTM元件的应用。图7中的虚线框内是电池组,PolySwitchTM元件在其中作充、放电过流?;?。[page]
MLV、PESD及其应用电路
MLV、PESD都是过压?;ぴ?,它们除用过压?;ね猓彩蔷驳绶诺纾‥SD)?;ぴT诓灏伪阈讲返母髦植逋肥?,各端口很容易受到静电放电的损坏,因此插拔端口都需要加ESD?;ぴ骷?。
在传输信号的端口上增加ESD?;ぴ骺梢苑乐咕驳绶诺绲乃鸷?,但由于ESD?;ぴ髯陨碛幸欢ǖ牡缛?,在高速信号传输过程中,会造成信号的衰减及失真。所以,高速数据传输端口的ESD?;ぴ骷恼费≡袷种匾?。
MLV的电容量较大(40~220pF),主要用于直流及数据传输率较低的端口。但MLV中的“E”系列,其电容量较小,仅3~12pF,可以适用于较高的数据传输速率的端口作ESD保护。
PESD是专门为高数据传输率端口作ESD?;に⒌谋;ぴS捎谒牡缛萘考停?.25pF),所以能满足IEEE1394及HDMI1.3的要求,在高速数据传输时满足了信号传输质量。因此在高清电视、LCD等离子电视、笔记本电脑和手机等产品中都采用PESD作ESD保护元件。

图8 PESD的抑制特性曲线
ESD的主要特性:泄露电流要小,响应时间要短(<1ns),相位电压要低,电容量要小。
PESD有俩种型号:PESD0603-240及PESD0402-140,其电气特性如表1所示,其抑制特性曲线如图8所示。

ESD元件最重要的参数是电容量。一般MLV的电容量是40~220pf,E系列的电容量是3~12pf;而PESD的电容量仅为0.25pf。

图9 2.25GHz下的ESD保护元件眼图

图10 3.4GHz下的PESD眼图

图11 显示端口?;さ缏?br />
不同工作频率及要求ESD保护元件的电容量关系如表2所示。常用的ESD?;ぴ冉先绫?所示。[page]
采用硅ESD?;ぴ?.25GHz时的眼图如图9所示,而采用PESD元件在3.4GHz时的眼图如图10所示,这两图的比较说明了PESD的优良性能。
图11是一种典型的显示端口保护电路。2.7GHz的高频信号线采用8个PESD保护元件,辅助通道工作频率为1MHz,采用5个MLV?;ぴ?;在低压直流电源中则采用了PolySwitchTM元件作过流保护。这样的设计既满足电路能耗要求,并且降低了成本。

图12 USB2.0接口保护电路

图13 IEEE1394接口?;さ缏?
图12及图13分别是USB2.0接口电路的保护电路设计及IEEE1394接口电路的?;さ缏飞杓啤?
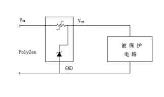
PolyZenTM元件及其应用电路
PolyZenTM元件器件是由精密齐纳二极管和聚合物正温度系数(PPTC)元件组合而成的集成电路。它是用于防止感应尖峰电压、瞬间高电压、错用电源适配器对电路产生过压、过流危害的保护器件,内部结构如图14所示。其典型应用电路如图15所示。在图15中,RLOAD为被?;さ南掠蔚缏?。

图14 PolyZenTM元件内部结构

图15 PolyZenTM元件典型应用电路
在正常工作时,VIN输入电压高于齐纳二极管的击穿电压VZ,有IFLT电流经齐纳二极管到地,VOUT输出稳定的电压。有不正常的过压输入VIN 时,则齐纳二极管的IFLT会产生过流,当器件上有过流时,其电阻由低阻态瞬变到高阻态,使在其上的压降大增,VOUT输出基本不变,而流过齐纳二极管的电流IFLT反而减小,如图16所示。器件上电压降的增大既?;ち似肽啥埽直;ち讼掠蔚牡缏贰A硗?,若被?;さ南掠蔚缏分写嬖谟芯植慷搪坊蚨搪饭收鲜保琁OUT会增加,PPTC元件由低阻态变成高阻态,可使电路得到过流?;?。
在正常工作时,VIN输入电压高于齐纳二极管的击穿电压VZ,有IFLT电流经齐纳二极管到地,VOUT输出稳定的电压。有不正常的过压输入 VIN时,则齐纳二极管的IFLT会产生过流,当器件上有过流时,其电阻由低阻态瞬变到高阻态,使在其上的压降大增,VOUT输出基本不变,而流过齐纳二极管的电流IFLT反而减小,如图16所示。器件上电压降的增大既?;ち似肽啥?,又保护了下游的电路。另外,若被?;さ南掠蔚缏分写嬖谟芯植慷搪坊蚨搪饭收鲜保琁OUT会增加,PPTC元件由低阻态变成高阻态,可使电路得到过流保护。

图16 PolyZenTM元件工作时的电压或电流变化
该器件的主要特点:保护下游电子元器件免受过压及反向偏压的损害(例如5V的适配器错用了12V的适配器或极性接反);由于PPTC元件的作用,减少了齐纳二极管散热的要求,减小占PCB的面积及降低成本;在过压故障时,VOUT输出基本不变;齐纳二极管的耐受能量大,可达30W;小尺寸贴片或4mm×4mm封装。
该器件主要应用于便携式多媒体播放器(PMP)、GPS、5V和12V硬型驱动器的总线保护、USB5V总线?;さ?。
该器件有9个品种,其电气特性如表4所示。其中,ZEN132V230A16LS及ZEN056V075ALS是即将上市的新产品。
结语
由于电路?;ぴ骷雌鹄词且恍┙峁辜虻サ脑骷槐蝗酥厥?。在众多电路书籍中,没有介绍?;さ缏坊蚪鼋樯芗钢掷喜罚ㄈ绫O账?、氧化锌压敏电阻及TVS),这方面的技术书籍跟不上产品的发展的需要,所以资料的来源主要是电路?;ぴ骷痰氖葑柿霞坝τ弥改?。
由于篇幅所限,本文仅简单地介绍了泰科电子公司几种应用在便携式电子产品中的?;ぴ骷?。另外,?;ぴ骷挠τ梅段Ъ?,除便携式电子产品外,还有通信、汽车、医疗仪器、家用电器、工业控制等领域。




