- 地线对EMC的影响
- 如何进行接地优化
- 为了减少电磁辐射的有效辐射面积,整流二极管、电源滤波电容必须紧靠开关电源变压器的次级
- 电源滤波电容的地更应该就近与变压器次级的地连接
- PCB板上还要做到一点接地,即:在这两个接地点之间不要插入其它的接地点
- 为了减少电磁辐射,要尽量减少电源输入回路以及功率输出回路的面积
- 对于功放的供电回路,减少电磁辐射面积最好的方法,是把电源直接接到功放电源输入脚的两端
- 输入信号的输入地线与信号输入线要尽量要靠近,并且要平行一起走
地线对EMC的影响
很多人都认为,电路中的地线或接地电路都是不带电的,实际上,这种认为是错误的。在一般的直流电路或低频电路中,当不考虑电磁感应时,可以认为电路中的地线或接地电路是不带电的,但在存在电磁感应的电路中,就不要轻易认为电路中的地线或接地电路是不带电的。
举个简单例子吧,谁会相信,几十万伏的高压输电线的正中心是不带电的。但事实上,由于电场的相互作用,导体中的电荷分布主要都是集中在导体的外表面,而导体的中心电荷几乎为0,所以带电导体的中心是不带电的。这个原理可以用验电器在一个带电空心金属球的中心进行测试作证明,在一个带电空心金属球的中心电场强度的确为零,从而也可证明带电导体中心的电场强度为零,即不带电。
在具有电磁感应的电路中,无论电路是否闭合回路,或者是开路,在与电场方向一致的导体中都会产生位移电流,无论是导体或者是绝缘体在电场中都会产生极化带电;当电场的方向不断改变时,电流的方向也会跟随电场的方向改变而改变,电流将一会儿向前跑,一会儿向后跑。导体被极化带电的过程,可参考图12中的天线被极化的过程。另外,磁感应也会使导体或电路产生感应电动势,使导体或电路带电。
一个被充满电的电容器,它的两个电极就是带电体,一端带正电,另一端带负电,而真正不带电的地方是在电容器的中间;同理,一个被感应的变压器次级线圈,它的两个输出端口也会带电,而真正不带电的地方只有在变压器线圈的中间抽头处。严格来说,只有电位为零的物体,我们才能称它不带电;或者说,只要电位不为零的物体我们都应该称它为带电体。但这样一来,我们实际中接触到很多的具体电路就只能用等效电路来表示了,所以,有时把问题太复杂化了也不好,但过于简单有时也会把实质性的问题给掩盖住了。
一只小鸟,如果它站在电视发射天线的中间,它一般是不会产生触电危险的,但如果它站在电视发射天线的某一端,它可能会立刻被电死。这说明发射天线的中间是不带电的,而发射天线的两端都是带电的。但为什么小鸟站在几十万伏的高压线上,它没有被触电,而站在只有几十伏电压的发射天线的某一端上却会被电死呢?这就是电磁感应的性质,微波炉就是根据电磁感应原理制造的。
小鸟站在高压线上没被电死的原因,是因为小鸟的电容很小,虽然几十万伏的高压对它来回充放电,电流很?。╥ = C●dv/dt);而小鸟站在发射天线的某一端,因为发射天线电压信号的频率很高,电容来回充放电的电流很大,因此,小鸟很容易会被电死。
由此可知,如果把多个不是真正零电位的电路或带电体互相连接在一起,接点处将会出现电流。比如,三相变压器的中线一般都接地,当三相电源负载不平衡的时候,接地处就会产生电流;又如,把变压器次级线圈的一端接地,接地端也会产生电流,而电流的大小与变压器次级线圈的电容有关,与工作频率也有关,与输出电压也有关。
在进行电路设计的时候,对地线的连接和处理一定要特别慎重,否则将会出现严重的地线干扰。这里再次指出,一般电路中的地,不是大地,其电位并不等于零,它只不过是一根公共连接线,当它没有与大地连接时,我们更不应该把它看成地线。理想的地线应该是,电位处处为零,即:在理想的地线中是没有电流流动的,如果导体中有电流流动,我们就不能把它当成地线。
下面我们以图18为例来分析地线对EMC产生的影响。图18中Q1表示开关电源,T1为开关变压器,D1为整流二极管,C1、C2、C3为滤波电容器,A1为功率放大器,S1为功率放大器输入信号,R1为功率放大器输出负载,G1、G2、G3、G4、G5、G6、G7、G8为各个器件的地;Ui表示整流输出电压,Uo表示经过滤波后的输出电压。
我们先来看G1,G1是开关电源变压器次级的地,这个G1地的电位不是0,变压器次级真正的0电位是在变压器次级线圈的中心抽头处,如果变压器次级线圈的两个端子不接成回路,它相当于一个振子天线;如果把G1与大地相接,哪怕变压器次级线圈的另一端不与其它电路连接,G1也会产生地电流,并且变压器次级线圈热端的电位会升高一倍,其工作原理与广播电台的中波发射天线的工作原理很类似。
变压器输出电压经二极管D1整流后为脉动直流,脉动直流含有非常丰富的高频谐波,不能直接向功率放大器供电,必须要经过储能滤波,使脉动直流变成一种纹波很小的直流后,再给功率放大器供电。

图18中C1是储能滤波电容,它的功能是把开关电源输出的脉冲功率进行存储,然后再给负载提供稳定的功率和电压输出。电容C1充电的时候相当于功率存储,放电的时候,相当于功率输出。由于C1的充放电电流特别大,如果电路处理不当,充放电回路产生的电磁干扰将非常严重。根据(12)、(13)、(14)、(15)、(16)式可知:产生感应电动势的大小,与电流的变化律成正比,与磁通的变化率成正比,与产生感应磁通回路的面积成正比,与互感的大小成正比;而充电回路电流的大小,与开关电源输出电压的变化率成正比,与充电电容器的大小成正比。
即:
e = L●di/dt (12)
e = dΦ /dt (13)
e = SdB/dt (14)
i = C●dv/dt (15)
e = M●di/dt (16)
图19是开关电源整流输出电压以及电源滤波电容的纹波电压和纹波电流波形。图19中红线表示电容器充电时的电压、电流变化曲线,蓝线表示电容器放电时的电压、电流变化曲线。其中Ui表示整流输出电压,Uo表示经过滤波后的输出电压,uc表示滤波电容的纹波电压,ic表示滤波电容的纹波电流。

由图19可以看出,电源滤波回路同时存在两种非常严重的电磁辐射,一个由变压器输出电压方波产生的高频电场辐射,另一个是由电源滤波回路电容器充放电电流产生的高频磁场辐射,统称电磁辐射。
为了减少电磁辐射,比较简便和有效的办法就是减少电磁辐射的面积,或减少电压和电流的上升率,减少电压上升率会增加电源开关管的损耗;减少电流上升率可以在电容充放电回路中串联一个小电感,但串联电感又会产生新的磁辐射,并且增加成本。为了减少电磁辐射的有效辐射面积,整流二极管D1、电源滤波电容C1必须紧靠开关电源变压器的次级,电源滤波电容C1的地G2更应该就近与变压器次级的地G1连接,并且在PCB板上还要做到一点接地,即:在这两个接地点之间不要插入其它的接地点。变压器输出电压经过C1电容滤波后,脉动电压的成分以及高次谐波部分都将会大大减少,此时,G1或G2与大地连接,流入大地的谐波电流也将会大大减小。
我们再看其它的地,G7是功率放大器A1输出的地,同时G7还是功率放大器A1电源的负极。我们可以把功率放大器A1看成是一个软开关,功率放大器的输出级一般都是由两个推拉管组成,两个放大管受输入信号的控制来回导通,不断地向负载R1提供功率输出,并且不停地向电源索取能量——电流。流过功率放大器A1或负载R1的电流是脉动电流,因此,功率放大器的电源输入回路以及功率输出回路也会向外产生很强的电磁辐射,为了减少电磁辐射,要尽量减少电源输入回路以及功率输出回路的面积。
对于功率放大器A1的供电回路来说,减少电磁辐射面积最好的方法,是把电源直接接到功率放大器电源输入脚的两端。一个充满了电的电容可以把它看成是一个电源,因此,C2、C3都可以看成是给功率放大器供电的电源,所以,C2、C3应该尽量靠近功率放大器供电的输入端,并与电源输入的两端紧密相连。C3是高频电容,它能在很短的时间内输出较大的电流,即高频响应好,并且体积比C2小,它靠近功率放大器的电源输入端更为便利,对减少电磁辐射很有利。因此,G4应该优先与G7连接,其次是储能电容C2的地G3,最好G7、G4、G3三个地能够接在一个点上,即在它们之间不要插入其它接地点,最后G7再与G8相连。C2是一个大容量储能电容,但它瞬间不能提供出大电流,因此,需要并联一个高频电容C3。
G5是信号源的地,G6是功率放大器输入信号的地,理所当然它们两个地应该连接在一起。功率放大器输入信号的回路很容易被其它电流回路产生电磁感应干扰,因此,输入信号回路的面积也要尽量地小,输入信号的输入地线与信号输入线要尽量要靠近,并且要平行一起走,使电磁感应在每根信号线上产生的干扰信号,对放大器来说,均为共模信号,这样可以互相抵消。如果G5和G6不是一点接地,G5和G6之间产生的电位差将会成为放大器输入信号的一部分,即:干扰信号通过地线会串扰到输入信号之中,将会被破坏放大器的正常工作,严重时还会使放大器出现自激。

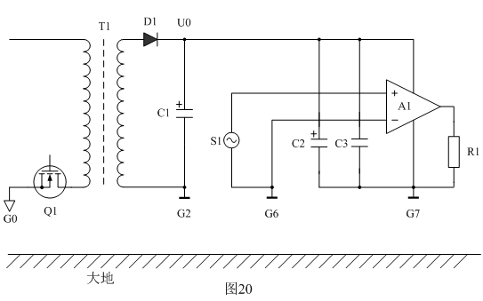
图20是经过接地优化以后的原理图,经过接地优化以后,原来图19中的8个接地点现在减少5个,变成了3个,然后,这3个接地点之间不管用导线怎么样互相连通,在连接的导线(地线)中都不会出现大的脉动电流或者互相产生信号干扰,如果把其中任何一个接地点与大地连接,也不会产生大的脉动电流。因此,经过接地优化以后,不但可以降低设备中各部分电路之间通过地线产生的各种信号互相干扰,同时`也可以降低本设备对其它设备产生的干扰。
结束语
最后指出,抑制电磁辐射干扰的最有效方法是对电磁场进行屏蔽,用导体把两个带电体之间的电力线截断,或用高导磁率的磁性材料把产生干扰磁场的物体进行屏蔽。但用于电场屏蔽的导体需要良好接地才能有效,如果屏蔽电场的导体不能良好接地,屏蔽电场的导体不但起不到屏蔽作用,反而对电场辐射干扰起到接力赛的效果,因为电场也会通过感应使屏蔽导体带电。另外,用导体对磁感应干扰进行屏蔽,也会产生意想不到的作用。因为,磁力线穿过导体的时候,也会产生感应电流,即:涡流。涡流又会产生磁场,这个新产生的磁场的方向正好与干扰磁场的方向相反,两者正好可以互相抵消。
目前,对电磁兼容EMC电路设计,还没有一种有效的方法能像设计一个放大器那样,可以通过计算使放大器的放大倍数精确到百分之几以内。对电磁兼容EMC进行设计的主要方法还是靠经验或借助别人的经验,需要不断实践才会不断提高。
编后记:至此,陶老师谈电磁干扰与电磁兼容系列文章已连载完毕,网友们可以把这些文章串起来再看一遍以得到完整系统的印象。有任何电磁兼容方面的问题也可在电子元件技术网上举办的由陶老师亲自担任专家的 电子系统的电路?;び氲绱偶嫒?/span> 论坛里向陶老师提问。稍后,我们还会继续连载陶老师的系列技术文章,敬请关注。





