中心论题:
- EMI滤波器的构造原理、基本电路及典型应用
- EMI滤波器在开关电源中的应用
- EMI滤波器的主要技术参数及测量插入损耗的方法
解决方案:
- 采用两级滤波,抑制串模、共模干扰
- 单片开关电源采用简易式单级EMI滤波器
- 逐点测出插入损耗,绘出插入损耗曲线
- 用电子开关对两种测试电路进行快速切换
随着电子设备、计算机与家用电器的大量涌现和广泛普及,电网噪声干扰日益严重并形成一种公害。特别是瞬态噪声干扰,其上升速度快、持续时间短、电压振幅度高(几百伏至几千伏)、随机性强,对微机和数字电路易产生严重干扰,常使人防不胜防,这已引起国内外电子界的高度重视。
电磁干扰滤波器(EMI Filter)是近年来被推广应用的一种新型组合器件。它能有效地抑制电网噪声,提高电子设备的抗干扰能力及系统的可靠性,可广泛用于电子测量仪器、计算机机房设备、开关电源、测控系统等领域。
电磁干扰滤波器的构造原理及应用
a.构造原理
电源噪声是电磁干扰的一种,其传导噪声的频谱大致为10kHz~30MHz,最高可达150MHz。根据传播方向的不同,电源噪声可分为两大类:一类是从电源进线引入的外界干扰,另一类是由电子设备产生并经电源线传导出去的噪声。这表明噪声属于双向干扰信号,电子设备既是噪声干扰的对象,又是一个噪声源。若从形成特点看,噪声干扰分串模干扰与共模干扰两种。串模干扰是两条电源线之间(简称线对线)的噪声,共模干扰则是两条电源线对大地(简称线对地)的噪声。因此,电磁干扰滤波器应符合电磁兼容性(EMC)的要求,也必须是双向射频滤波器,一方面要滤除从交流电源线上引入的外部电磁干扰,另一方面还能避免本身设备向外部发出噪声干扰,以免影响同一电磁环境下其他电子设备的正常工作。此外,电磁干扰滤波器应对串模、共模干扰都起到抑制作用。
b.基本电路及典型应用
电磁干扰滤波器的基本电路如图1所示。

该五端器件有两个输入端、两个输出端和一个接地端,使用时外壳应接通大地。电路中包括共模扼流圈(亦称共模电感)L、滤波电容C1~C4。L对串模干扰不起作用,但当出现共模干扰时,由于两个线圈的磁通方向相同,经过耦合后总电感量迅速增大,因此对共模信号呈现很大的感抗,使之不易通过,故称作共模扼流圈。它的两个线圈分别绕在低损耗、高导磁率的铁氧体磁环上,当有电流通过时,两个线圈上的磁场就会互相加强。L的电感量与EMI滤波器的额定电流I有关,参见表1。

需要指出,当额定电流较大时,共模扼流圈的线径也要相应增大,以便能承受较大的电流。此外,适当增加电感量,可改善低频衰减特性。C1和C2采用薄膜电容器,容量范围大致是0.01Μf~0.47μF,主要用来滤除串模干扰。C3和C4跨接在输出端,并将电容器的中点接地,能有效地抑制共模干扰。C3和C4亦可并联在输入端,仍选用陶瓷电容,容量范围是2200Pf~0.1μF。为减小漏电流,电容量不得超过0.1μF,并且电容器中点应与大地接通。C1~C4的耐压值均为630VDC或250VAC。图2示出一种两级复合式EMI滤波器的内部电路,由于采用两级(亦称两节)滤波,因此滤除噪声的效果更佳。针对某些用户现场存在重复频率为几千赫兹的快速瞬态群脉冲干扰的问题,国内外还开发出群脉冲滤波器(亦称群脉冲对抗器),能对上述干扰起到抑制作用。
EMI滤波器在开关电源中的应用
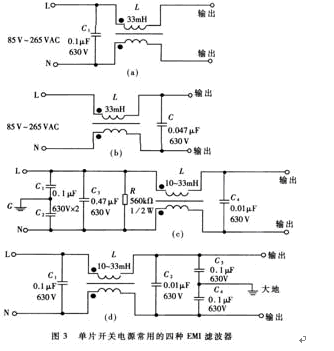
为减小体积、降低成本,单片开关电源一般采用简易式单级EMI滤波器,典型电路如图3所示
图(a)与图(b)中的电容器C能滤除串模干扰,区别仅是图(a)将C接在输入端, 图(b)则接到输出端。图(c)、(d)所示电路较复杂,抑制干扰的效果更佳。图(c)中的L、C1和C2用来滤除共模干扰,C3和C4滤除串模干扰。R为泄放电阻,可将C3上积累的电荷泄放掉,避免因电荷积累而影响滤波特性;断电后还能使电源的进线端L、N不带电,保证使用的安全性。图(d)则是把共模干扰滤波电容C3和C4接在输出端。
EMI滤波器能有效抑制单片开关电源的电磁干扰。图4中曲线a为不加EMI滤波器时开关电源上0.15MHz~30MHz传导噪声的波形(即电磁干扰峰值包络线)。曲线b是插入如图3(d)所示EMI滤波器后的波形,能将电磁干扰衰减50dBμV~70dBμV。显然,这种EMI滤波器的效果更佳。

EMI滤波器的技术参数及测试方法
a.主要技术参数
EMI滤波器的主要技术参数有:额定电压、额定电流、漏电流、测试电压、绝缘电阻、直流电阻、使用温度范围、工作温升Tr、插入损耗AdB、外形尺寸、重量等。上述参数中最重要的是插入损耗(亦称插入衰减),它是评价电磁干扰滤波器性能优劣的主要指标。
插入损耗(AdB)是频率的函数,用dB表示。设电磁干扰滤波器插入前后传输到负载上的噪声功率分别为P1、P2,有公式:
AdB=10lg P1/P2(1)
假定负载阻抗在插入前后始终保持不变,则P1=V12/Z,P2=V22/Z。式中V1是噪声源直接加到负载上的电压,V2是在噪声源与负载之间插入电磁干扰滤波器后负载上的噪声电压,且V2<<V1。代入(1)式中得到
AdB=20lg (2)
插入损耗用分贝(dB)表示,分贝值愈大,说明抑制噪声干扰的能力愈强。鉴于理论计算比较烦琐且误差较大,通常是由生产厂家进行实际测量,根据噪声频谱逐点测出所对应的插入损耗,然后绘出典型的插入损耗曲线,提供给用户。

图5给出一条典型曲线。由图可见,该产品可将1MHz~30MHz的噪声电压衰减65dB。
计算EMI滤波器对地漏电流的公式为
ILD=2πfCVC(3)
式中,ILD为漏电流,f是电网频率。以图1为例,f=50Hz,C=C3+C4=4400pF,VC是C3、C4上的压降,亦即输出端的对地电压,可取VC≈220V/2=110V。由(3)式不难算出,此时漏电流ILD=0.15mA。C3和C4若选4700pF,则C=4700pFX2=9400pF,ILD=0.32mA。显然,漏电流与C成正比。对漏电流的要求是愈小愈好,这样安全性高,一般应为几百微安至几毫安。在电子医疗设备中对漏电流的要求更为严格。
需要指出,额定电流还与环境温度TA有关。例如国外有的生产厂家给出下述经验公式:
I=I1(4)
式中,I1是40°C时的额定电流。举例说明,当TA=50℃时,I=0.88I1;而当TA=25℃时,I=1.1511。这表明,额定电流值随温度的降低而增大,这是由于散热条件改善的缘故。
b.测量插入损耗的方法
测量插入损耗的电路如图6所示。

e是噪声信号发生器,Zi是信号源的内部阻抗,ZL是负载阻抗,一般取50Ω。噪声频率范围可选10kHz~30MHz。首先要在不同频率下分别测出插入前后负载上的噪声压降V1、V2,再代入(2)式中计算出每个频率点的AdB值,最后绘出插入损耗曲线。需要指出,上述测试方法比较烦琐,每次都要拆装EMI滤波器。为此可用电子开关对两种测试电路进行快速切换。


