中心议题:
- 介绍锂离子电池?;さ缏返脑砑爸饕杓扑悸?/strong>
- 通过计算确定该电路的相关参数
解决方案:
- 在电池包内设计保护线路,?;わ绯?/strong>
- 不明原因造成过电流或短路时,必须使锂电池立即停止放电
近年来,锂电池由于具有体积小、质量轻、能量密度高、无记忆效应、循环寿命高、电池电压高和自放电率低等优点,因而在PDA 、数码相机、手机、便携式音讯设备和蓝牙设备等越来越多的产品上采用锂电池作为主要电源。但锂电池与镍镉、镍氢电池不太一样,锂电池必须考虑充电、放电时的安全性,以防止特性劣化。但锂离子电池能量密度高,难以确保电池的安全性,在过度充电状态下,电池温度上升后能量将过剩,于是电解液分解而产生气体,容易使内压上升而产生自燃或破裂的危险;反之,在过度放电状态下,电解液因分解导致电池特性及耐久性劣化,降低可充电次数。因此锂电池的过充、过度放电、过电流及短路?;ず苤匾?所以通常都会在电池包内设计?;は呗?用以?;わ绯?。
电路设计
a.电路概述
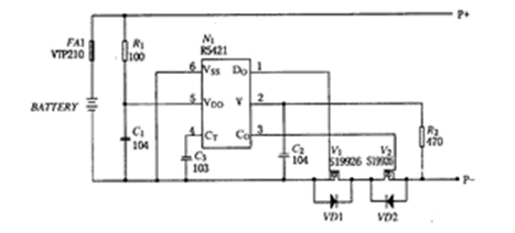
锂离子电池?;さ缏钒ü瘸涞绫;?、过电流/ 短路?;ず凸诺绫;さ?该电路就是要确保这样的过度充电及放电状态时的安全,并防止特性劣化。它主要由集成?;さ缏稩C、贴片电阻、贴片电容、场效应管(MOSFET) 、有的还有热敏电阻(NTC) 、识别电阻( ID) 、保险丝( FUSE) 等构成。其电路图如图1所示。

图1 锂离子电池保护电路图
其中集成?;さ缏稩C 用来检测?;さ缏返鼻暗牡缪?、电流、时间等参数以此来控制场效应管的开关状态;场效应管(MOSFET) 则根据?;C 来控制回路中是否有需开或关; 贴片电阻用作限流; 贴片电容作用为滤波、调节延迟时间;热敏电阻用来检测电池块内的环境温度; 保险丝防止流过电池的电流过大,切断电流回路。
b.电路原理及参数确定
过度充电?;?
当充电器对锂电池过度充电时,锂电池会因温度上升而导致内压上升,需终止当前充电的状态。此时,集成?;さ缏稩C 需检测电池电压,当到达4.25V 时(假设电池过充电压临界点为4.25 V) 即激活过度充电保护,将功率MOS 由开转为切断,进而截止充电。另外,为防止由于噪音所产生的过度充电而误判为过充?;?因此需要设定延迟时间,并且延迟时间不能短于噪音的持续时间以免误判。过充电?;ぱ邮笔奔鋞vdet1计算公式为:
t vdet1 = { C3 ×( Vdd - 0. 7) }/ (0. 48 ×10 - 6 ) (1)
式中: Vdd为?;1 的过充电检测电压值。
简便计算延时时间: t = C3/ 0. 01 ×77 (ms) (2)
如若C3 容值为0.22 F ,则延时值为:0. 22 /0. 01 ×77 = 1694 (ms)
过度放电?;?
在过度放电的情况下,电解液因分解而导致电池特性劣化,并造成充电次数的降低。过度放电?;C 原理:为了防止锂电池的过度放电状态,假设锂电池接上负载,当锂电池电压低于其过度放电电压检测点(假定为2.3 V) 时将激活过度放电?;?使功率MOS FET 由开转变为切断而截止放电,以避免电池过度放电现象产生,并将电池保持在低静态电流的待机模式,此时的电流仅0.1μA 。当锂电池接上充电器,且此时锂电池电压高于过度放电电压时,过度放电?;すδ芊娇山獬A硗?考虑到脉冲放电的情况,过放电检测电路设有延迟时间以避免产生误动作。
过电流及短路电流?;?
因为不明原因(放电时或正负极遭金属物误触) 造成过电流或短路,为确保安全,必须使其立即停止放电。过电流?;C 原理为,当放电电流过大或短路情况产生时,?;C 将激活过(短路) 电流?;?此时过电流的检测是将功率MOSFET 的Rds (on) 当成感应阻抗用以监测其电压的下降情形,如果比所定的过电流检测电压还高则停止放电,运算公式为:
V_ = I ×Rds ( on) ×2 ( V_为过电流检测电压, I 为放电电流) (3)假设V_ = 0. 2V , Rds (on) = 25 mΩ,则?;さ缌鞯拇笮∥狪 = 4 A 。
同样,过电流检测也必须设有延迟时间以防有突发电流流入时产生误动作。通常在过电流产生后,若能去除过电流因素(例如马上与负载脱离) ,将会恢复其正常状态,可以再进行正常的充放电动作。
结束语
在进行?;さ缏飞杓剖笔沟绯爻涞绲奖ヂ淖刺鞘褂谜吆芄匦牡奈侍?同时兼顾到安全性问题,因此需要在达到容许电压时截止充电状态。要同时符合这两个条件,必须有高精密度的检测器,目前检测器的精密度为25 mV 。另外还必须考虑到集成?;さ缏稩C 功耗、耐高电压问题。此外为了使功率MOSFET的Rds ( on) 在充电电流与放电电流时有效应用, 需使该阻抗值尽量低, 目前该阻抗约为20~30 mΩ,这样过电流检测电压就可较低。



