- 电流检测电阻的要求及特点
- 测量时RS的阻值要小
- 为满足大电流的测量,其额定功率一般为1~3W
- 采用四引线结构,消除引线的电阻造成的误差
在一些电子测量仪器、装置或产品中,经常有测量电路中直流电流的需要,因此研发人员开发出各种各样的电流检测集成电路。它是一种I/V转换器,将测量的电流转换成相应的电压,即V=kI,其中k为比例常数。另外,在一些电子产品中要限制输出电流,以防止有故障时(负载发生局部短路或输出端短路、电源输出电压升高等)产生过流而造成更大损失。检测到有过流发生时,可以控制关断电源或负载开关,或以限制的电流输出。

图1电流检测电路
图1是一种电流检测电路。RS是电流检测电阻,RL是负载(通常为直流电机、电磁阀或加热器等)。当电流流过电流检测电阻时产生一个电压降VRS,此电压输入电流检测IC,经放大器放大后输出与电流I成比例的电压V。为减小在RS上的电压降VR,检测电阻一般取很小阻值(几毫欧到几百毫欧)。

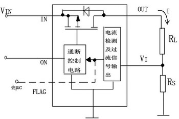
图2过流?;さ母涸乜亟峁箍蛲?br />
图2是一种带过流?;さ母涸乜亟峁箍蛲迹?中,RL是负载,RS是电流检测电阻。流过RS的电压降VRS与电流I成比例,此电压VRS输入负载开关VI端。若内部电流检测电路检测出有过流状态,输出过流信号(电平信号)给通、断控制电路,关断负载开关。
一旦开关断开,RS上电压VRS=0,开关又接通,产生振荡,如图3所示。输出电流将小于限制电流。更好的办法是通过FLAG端输出过流信号给μC,使μC输出低电平给负载开关ON端,关断负载开关。图2中未画出μC及μC与负载开关的连线。
从图1及图2可看出:无论电流测量或电流限制控制电路都需要外接电流检测电阻RS。RS的选择是否正确及RS的质量好坏,对电流测量精度有很大的影响。
电流检测电阻的要求及特点
电流检测电阻是随电流测量、电流控制的要求开发出来的一种特殊电阻。电流的测量范围很广,从几毫安到几十安;测量的精度要求不同,电流检测电阻也有不同的规格以满足不同的需要。本文主要介绍高精度电流检测电阻,其主要要求及特点如下。

表1CSM2512与CSM3637的主要性能参数
[page]
1.RS的阻值小于10Ω
为减少在RS上的电压降及减小在RS上的功率损耗,RS的阻值要求小。一般在大电流测量时(几安到几十安)要采用毫欧级的RS。例如,检测电流为12A,若RS=0.1Ω(100mΩ),则在RS上的压降VRS=1.2V,其功耗为14.4W。如果电源电压为12V,则在负载上的工作电压已降到10.8V;并且在检测电阻RS上的损耗也太大。
若采用5mΩ的RS,则RS上的压降减小到0.075V,其功耗减少为0.72W。测量电流小时(如几十毫安到几百毫安),RS值可取零点几欧姆到几欧姆。所以电流检测电阻RS的阻值是小于10Ω的。目前已开发出超小阻值的系列,有1mΩ、0.5mΩ、及0.3mΩ系列的电流检测电阻。

图3内部电流检测电路产生振荡
2.四引线结构
当电流检测电阻值已小到几毫欧时,其引线的电阻造成的误差则不能忽略,为此开发出四引线结构,如图4所示。接近电阻根部的两引线为测量VRS端,另两根引线为电流的通路。在电阻根部测量RS上的电压(消除了引线电阻的测量误差)是精密测量方法,也称为凯尔文(Kelvin)测量法。

图4四引线结构
3.RS的允差要求小
为保证电流测量的精度,RS的允差要求小。一般精密电阻的允差可达±0.01%,但电流检测电阻值很小时(如RS=2mΩ),其允差达不到±0.01%,目前其允差可做到±0.1%。一般允差为±0.1%~±1%,RS的阻值≥5mΩ时,可达到±0.05%。

图570℃时降功耗使用
4.温度系数(TCR)要求小
在测量大电流时,RS的功耗可达1W以上,自身会发热,若Rs自身温度系数大,则电阻值发生变化而引起测量误差。另外,环境温度TA也会影响Rs的阻值变化,所以要求RS的温度系数小。目前典型的电流检测电阻的TCR为±1~±15×10-6/℃(在TA=0~60℃时,RS<1Ω)。除要求其TCR小外,还要求有长期稳定性。

图6CSM系列外形图
[page]
5.额定功率大
为满足大电流的测量,其额定功率一般为1~3W,某些功率电流检测电阻在加散热片的条件下可达10W(允许测更大的电流)。

表2RS的外廓尺寸及焊盘尺寸-允差
6.允许环境温度(TA)宽
电流检测电阻的工作温度范围宽,一般为-55~+125℃。有一些可达150℃。但大部分RS在25℃后要降功耗使用,个别的RS可在70℃后才降功耗使用。例如,某电流检测电阻在25℃时的额定功耗为1W,在100℃的工作温度时,其允许的功耗已降到50%即0.5W;若在150℃工作温度条件下,则允许功耗降到20%即0.2W。这一点在实际使用时十分重要。

表3几种典型的电流检测电阻
7.热电动势要小
典型值为0.05μV/℃。
典型的电流检测电阻
电流检测电阻的生产厂家很多,同一生产厂家也会生产出几种或几十种不同的电流检测电阻(如不同的电流测量范围、不同的精度、不同的封装等)。这里介绍VISHAY公司的高精电流检测电阻CSM系列,它们是CSM2512及CSM3637及一些同类产品。
1.主要特点
CSM系列高精度电流检测电阻的主要特点:
①温度系数最大值为±15×10-6/℃;
②额定功率为1~3W;
③阻值允差±0.1%;
④阻值范围2~200mΩ;
⑤最大检测电流可达38A;
⑥贴片式元件(SMD);
⑦四端精密凯尔文结构,提高测量精度;
⑧有无铅产品;
⑨工作温度范围-55~+125℃。
2.主要性能参数
CSM2512与CSM3637的主要性能参数如表1所示。
在工作温度(环境温度TA下)大于70℃时,要降功耗使用,如图5所示。
3.尺寸及焊盘尺寸
该系列电流检测电阻的外廓尺寸及焊盘尺寸如表2所示,外形如图6所示。

表4电流检测电阻的应用
其他同类产品简介
这里再介绍一些其他同类产品,这都是VISHAY公司的产品,它们都是精密电流检测电阻,其型号是200系列、300系列及VCS101/3。它们的外形如图7所示,主要参数如表3所示。
应用领域
电流检测电阻的应用领域极广。主要应用与工业、消费类、汽车、通信、医疗、仪器及军用/航空和航天。这方面的应用如表4所示。






