【导读】功率二极管晶闸管广泛应用于AC/DC变换器、UPS、交流静态开关、SVC和电解氢等场合,但大多数工程师对这类双极性器件的了解不及对IGBT的了解,为此我们组织了6篇连载,包括正向特性,动态特性,控制特性,?;ひ约八鸷挠肴忍匦浴D谌菡杂⒎闪栌⑽陌嬗τ弥改螦N2012-01《双极性半导体技术信息》。
3.4 载流子存储效应和开关特性
当功率半导体的工作状态变化时,由于载流子存储效应,电流和电压的稳态值不会立即改变。
此外,晶闸管触发时只有门极结构附近的小块区域导通。由此产生的开关损耗必须以热的形式从半导体中散发出去。
3.4.1 开通
3.4.1.1 二极管
从非导通或阻断状态转入导通状态时,由于载流子存储效应,二极管处产生电压峰值(见图20)。

图20.二极管开通过程示意图
■ 3.4.1.1.1 正向恢复电压峰值VFRM
VFRM是正向回复期间产生的最高电压值。该值随着结温和电流变化率的升高而增大。
电网 (50/60Hz)的电流变化率适中,VFRM可以忽略不计。但是在 di/dt>>1000A/μs的快速开关(IGBT、GTO和IGCT)自动换向变流器中,该值可能达到几百伏。虽然正向恢复电压仅存在几微秒,且不会显著增大二极管的总损耗,设计变流器时仍需考虑该值对开关半导体的影响。
针对这些应用优化的二极管图表包含了正向恢复电压和电流变化率之间的函数关系。
■ 3.4.1.1.2 通态恢复时间tfr
根据DIN IEC 60747-2,tfr是指突然从关断状态切换为规定的通态时,二极管完全导通且出现静态通态电压vF所需的时间(见图20)。
3.4.1.2 晶闸管
在正向断态电压VD下通过变化率为diG/dt且强度为iGM的门极电流启动开通过程。对于光触发晶闸管,这同样适用于施加在激光二极管上的规定触发脉冲。在门极控制延迟时间tgd内,晶闸管上的阻断电压下降至90%(见图21)。最初只有门极结构周围的一小块区域导通,因此可使用初始电流密度和通态电流(di/dt)cr的临界上升率来衡量晶闸管在开通期间的稳健性。

图21.晶闸管开通过程示意图
a.具有关断负载电路的门极电流
b.具有快速上升通态电流的门极电流(另见3.3.1.8)

图22.门极控制延迟时间tgd与最大门极电流iGM之间的典型关系曲线
a.最大值 b.典型值
■ 3.4.1.2.1 门极控制延迟时间tgd
tgd是指从门极电流达到其最大值
IGM的10%时起,到阳极-阴极电压下降至施加的正向断态电压VD的90%以下的间隔时间(见图21)。
门极控制延迟时间随着门极电流(对于LTTs为光功率)的增加而显著减?。?2)。
在大功率晶闸管中,tgd也随VD而变。
数据手册中给出的值是依据DIN IEC 60747–6定义的,仅在Tvj=25°C和规定的触发脉冲下有效。
■ 3.4.1.2.2 通态电流临界上升率(di/dt)cr
一旦电压因晶闸管触发而崩溃,门极结构附近的一小块阴极区域就开始传导通态电流。然后此导电区域向外扩散,扩散速度通常为0.1mm/μs,具体取决于电流密度。因此系统的载流能力最初是有限的。但是,如果不超过数据手册中规定的临界电流转换速率值,晶闸管就不会受损或损坏。对于S型晶闸管和具有大方形截面的晶闸管,门极得到分散(指条结构)。因此,这些类型表现出更高的(di/dt)cr。
根据DIN IEC 60747-6,临界电流上升时间(di/dt)cr与阻尼正弦半波期间加载的通态电流有关。它被定义为在以下条件下,穿过上升通态电流10%和50%这两个点的直线的角度(见图21,图47)。
结温:Tvj=Tvj max
正向断态电压:VD=0.67VDRM
峰值电流:iTM=2ITAVM
重复频率:f0=50Hz
在单独数据手册中定义了触发脉冲(另见3.3.1.8)。
例外:用正向断态电压VD=VDRM测试光触发晶闸管。
■ 3.4.1.2.3 重复开通电流IT(RC)M
IT(RC)M是指以某个不确定上升率开通后随即产生的最大允许通态电流峰值。通常,这种通态电流是因RC缓冲电路放电产生的。最大允许重复开通电流还适用于以下达到通态电流临界上升率(di/dt)cr的电流急升情况。
对于英飞凌元件,适用以下值:
IT(RC)M=100A
例外:型号命名为T...1N或T...3N的元件
IT(RC)M=150A
对于超过60Hz的应用,须减小临界电流上升时间(di/dt)cr和重复开通电流IT(RC)M。应要求提供针对特定条件的详细信息。
■ 3.4.1.2.4 断态电压临界上升率(dv/dt)cr
(dv/dt)cr是正向施加的电压上升率最大值,该值在0%至67%VDRM区间内几乎呈线性,此时晶闸管不会切换到通态。
对于电压指数上升,它是一条从最大值的0%开始,到63%结束的线,并且与指数函数相交。
它适用于触发电路开路和最高允许结温。超过(dv/dt)cr可能导致器件损坏。
例外:除过压?;?BOD)以外,光触发晶闸管还集成了dv/dt?;すδ?。当dv/dt升高时,此功能可使晶闸管在整个门极结构上安全触发。
3.4.2 关断
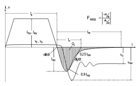
通常通过施加反向电压来启动关断功能。晶闸管或二极管的负载电流不会在过零时停止,而是作为反向恢复电流继续沿反向流动,直到载流子离开结区。
软度系数FRRS描述的是关断过程中电流上升率的关系。
3.4.2.1 恢复电荷Qr
Qr是半导体从通态转换到反向断态后流出半导体的电荷总量。该值随着结温、通态电流幅值和下降时间的增大而增大。除非另有说明,否则规定值仅在VR=0.5VRRM和VRM=0.8VRRM的条件下有效。为此指定了采用合适设计的RC缓冲电路。对于型号命名为T...1N、T...3N和D...1N的元件,数据手册中规定的值为最大值,该值在生产过程中经过100%测试。
恢复电荷Qr主要随结温Tvj和衰减电流的下降率而变(见图24和图25)。

图23.晶闸管和二极管的关断过程示意图

图24.归一化到Qr(Tvj max)的恢复电荷Qr与Tvj的典型关系曲线

图25.归一化到Qr(di/dt=10A/μs)的恢复电荷Qr与di/dt的典型关系曲线
3.4.2.2 反向恢复电流峰值IRM
IRM是反向恢复电流的最大值。Qr的关系曲线和工作条件也适用。如果图中未显示IRM,可通过以下公式大致确定IRM的值:

对于型号命名为T...1N、T...3N和D...1N的元件,数据手册中规定的值为最大值,该值在生产过程中经过100%测试。
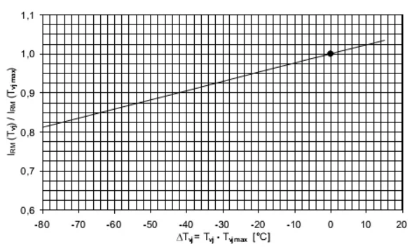
反向恢复电流峰值IRM主要随结温Tvj和衰减电流的下降率而变(见图26和图27)。

图26.归一化到IRM(Tvj max)的反向恢复电流峰值IRM与Tvj的典型关系曲线

图27.归一化到IRM(di/dt=10A/μs)的反向恢复电流峰值IRM与di/dt的典型关系曲线
3.4.2.3 反向恢复时间trr
trr是指从电流过零时起,到穿过反向衰减恢复电流的90%和25%这两个点的直线过零时的时间间隔(见图23)。如果没有规定trr,可通过以下公式大致计算该值:

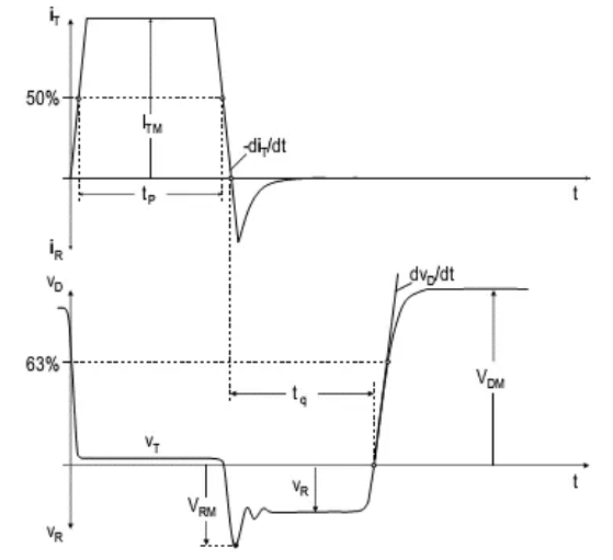
3.4.2.4 关断时间tq
tq是指从反向换向的电流过零时起,到重新施加的正向断态电压不会在没有控制脉冲的情况下使晶闸管开通时的时间间隔。
重新产生正向断态电压前在应用中实现的实际脉冲时间被称为延迟时间。此时间必须始终比关断时间长。关断时间主要随通态电流的下降时间、正向断态电压的上升率及结温而变(见图29到图31)。为了确定tq,所选的正向电流持续时间tp必须足够长,使晶闸管在换向点可以完全开通(见图28)。数据手册中规定的值仅对下列条件有效:
结温:Tvj=Tvj max
通态电流强度:iTM>ITAVM
通态电流下降率:-diT/dt=10A/μs
反向电压:VRM=100V
正向断态电压上升率:dvD/dt=20V/μs
正向断态电压:VDM=0.67VDRM
例外:快速晶闸管换向关断的电流下降率为-di/dt=20A/μs时,此处的dvD/dt可能有所不同,通过型号命名中的第5个字母确定(见章节2.3)。
对于相控晶闸管,通常规定的是关断时间的典型值,因为这类晶闸管主要用于电网换相变流器。在这些应用中,延迟时间通常比晶闸管的关断时间长得多。如果延迟时间比关断时间短,晶闸管将在不施加门极脉冲的情况下,随着正向断态电压上升而再次开通,并且可能导致器件损坏(如有必要,可按要求提供tq极限值)。
如果晶闸管和反向二极管(例如续流二极管)一起工作,由于换向电压较低,必须考虑更长的关断时间(通常长30%)。此外,在此类应用中,应使续流电路的电感最小,否则关断时间可能会显著增加。

图28.晶闸管的关断特性示意图

图29.归一化到Tvj max的关断时间tq与结温Tvj的典型关系曲线

图30.归一化到-diT/dtnorm的关断时间tq与关断换向下降率-diT/dt的典型关系曲线

图31.归一化到dvD/dt=20V/μs的关断时间tq与断态电压上升率dvD/dt的典型关系曲线

免责声明:本文为转载文章,转载此文目的在于传递更多信息,版权归原作者所有。本文所用视频、图片、文字如涉及作品版权问题,请联系小编进行处理。
推荐阅读:




