桃花源qm花论坛(品茶),凤楼阁论坛官网入口网址,一品楼品凤楼论坛最新动态,风楼阁全国信息2024登录入口

你的位置:首页 > 互连技术 > 正文

泛在电力物联——智能电缆井盖您见过吗?

发布时间:2020-12-17 来源:Ethan Li 责任编辑:wenwei

【导读】“智慧城市”、“智能电网”、“泛在电力物联”......近几年一些新概念相继被提出,这些规划相互交叉影响,在一些试点城市快速建设推进,如高压电缆线已由空架开始转到地下,以青岛为例,主干道、高新区老区改造新区建设都要求电缆下地,每50m-100m覆盖一个智能井盖来保证城市安全,释放城市空间资源。
 
电力智能井盖产品定义及终端功能
 
产品定义:智能井盖监控系统,可以检测井盖是否丢失,智能井盖监控系统利用目前先进的无线通讯技术、电源技术、可以持续采集井盖状态和井下环境信息,包括水位、温度、有害气体等,然后存储和远传。将井盖的开启、井盖巡检纳入到统一的维护管理系统中,并建立相对应的报警处理机制,通过电子地图展示井盖所处位置的状态和报警内容,例如井盖被盗或者破坏,监控人员能够及时到达现场处理,快速地解决安全遗患。
 
电力井盖监控终端功能:
 
●     入侵报警:实时监控井盖的开启及破坏情况
●     环境监测:井下O2浓度有毒气体如CO,H2S......
●     状态管理:远程控制或密钥开启、关闭井盖
●     通过通讯协议接口实现与其他系统的互联互通
●     基于物联网的设备的全生命周期的管理
 
Excelpoint世健公司的工程师Ethan Li介绍了ADI IC从感知(iSensor MEMS)、采集(Analog to Digital Converter),到数字隔离通讯接口(iCoupler)、电源供电系统(ADI Power by Linear),在一个典型小而智慧的应用“电力智能井盖”中的应用。
 
产品典型信号链
 
泛在电力物联——智能电缆井盖您见过吗?
【图1 电力智能井盖典型信号链】
 
系统技术要求
 
●     系统供电:24Vdc(Range16V~36V)在线式供电系统(同样要求有后备电源系统或者锂电池供电系统)
●     井盖倾斜检测:阈值报警,1~2°误差
●     气体检测精度:~5%
●     通讯方式:隔离RS-232/485总线通讯,速率<115200bps,,2G/4G/NB-IOT无线
●     静态功耗:<0.02W
●     报警响应时间:<10S
●     免维护时间:1年以上
 
电源供电系统-ADI Power by Linear
 
电源需启动较大功率机械动作开关,也要保证下井后系统断电的人工安全,所以供电方式上采用在线式24Vdc供电Vin=16~36V,后备电源为6~8节Li-ion(25.2Vfull/29.4Vfull)串联充电。
 
成功设计使用案例:LTC4020高压buck-boost兼容MPPT太阳能充电功能+LTC4416外部路径管理的高可靠性设计方案。
 
泛在电力物联——智能电缆井盖您见过吗?
【图2 LTC4020应用简图及特点】
 
此外,还有反激式LT8302隔离电源方案,LT860X多路同步整流DC/DC,以及Silent switcher技术的LT8609S、LTC8645S、LTC8650S等全套电源供电可参考方案。
 
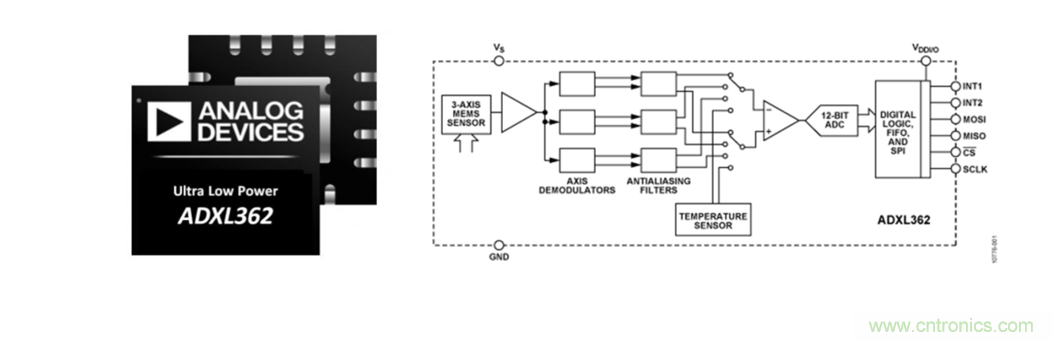
ADI MEMS G-sensor在倾角检测的应用
 
成功设计使用案例:超低功耗3轴MEMS加速度计ADXL362,保证整机的静态功耗。
 
泛在电力物联——智能电缆井盖您见过吗?
泛在电力物联——智能电缆井盖您见过吗?
 
关于3轴G-SENOR测倾角的设计,可参考ADI官网完整的应用笔记AN1057。
 
井下气体检测
 
系统一般会要求有O2、CO、CO2、H2S四种气体加常规辅助量检测,检测误差精度~5%,要求不高,现在客户设计方案还是电化学传感器加放大器,如ADA4528、AD623 TIA信号调理后MCU片内ADC采集的方案。
 
Ethan Li推荐2019年ADI发布的一颗基于电化学传感器方案气体检测的平台级产品——ADuCM355。
 
泛在电力物联——智能电缆井盖您见过吗?
 
ADuCM355高集成度、高精度、高安全可靠性、小体积、低功耗等特性,在基于电化学传感器做气体检测中应用中优势显著,有客户已开始导入评测,ADuCM355具体的应用设计本文不展开细说,可参考ADI官网电路笔记CN0425、CN0429了解。
 
隔离通讯接口
 
通讯方式:隔离RS-232/485总线通讯,功能性隔离2500Vdc,通讯速率<115200bps,以及2G/4G/NB-IOT无线。
 
成功设计使用案例:隔离RS-232、ADM3251E、隔离RS-485、低成本ADM2483,集成isoPower的ADM2587E。相比于传统的光耦隔离与电容隔离,ADI iCoupler专利的磁隔离技术鲁棒性高,抗干扰能力强。新一代的磁隔离编解码技术在原有解码基础上又升级进一步增加抗干扰性,集成度高、设计简单。
 
泛在电力物联——智能电缆井盖您见过吗?
泛在电力物联——智能电缆井盖您见过吗?
泛在电力物联——智能电缆井盖您见过吗?
 
Ethan表示,ADI可提供的iSensor+ Single process+ iCoupler+ADI power by Linear全套产品方案。此外,世健在山东区域已配合客户设计支持,具有成功设计使用的经验,并且已经量产。随着城市发展和泛电力物联网的大力推进,电力智能井盖产品功能也会不断丰富。相信将来ADI产品与客户方案设计上会有更全面、更深入的合作。
 
关于世健——亚太区领先的元器件授权代理商
 
世健是完整解决方案的供应商,为亚洲电子厂商包括原设备生产商(OEM)、原设计生产商(ODM)和电子制造服务提供商(EMS)提供优质的元器件、工程设计及供应链管理服务。
 
世健与供应商及电子厂商紧密协作,为新的科技与趋势作出定位,并帮助客户把这些最先进的科技揉合于他们的产品当中。集团分别在新加坡、中国及越南设有研发中心,专业的研发团队不断创造新的解决方案,帮助客户提高成本效益并缩短产品上市时间。世健研发的完整解决方案及参考设计可应用于工业、无线通信及消费电子等领域。
 
世健是新加坡的主板上市公司,总部设于新加坡,拥有约750名员工,业务范围已扩展至亚太区40多个城市和地区,遍及新加坡、马来西亚、泰国、越南、中国、印度、印度尼西亚、菲律宾及澳大利亚等十多个国家。世健集团在2019年的年营业额超过9亿7千万美元。1993年,世健在香港设立区域总部——世健系统(香港)有限公司,正式开始发展中国业务。目前,世健在中国拥有十多家分公司和办事处,遍及中国主要大中型城市。凭借专业的研发团队、顶尖的现场应用支持以及丰富的市场经验,世健在中国业内享有领先地位。
 
 
推荐阅读:
 
误启动的发生机制
从先进器件到系统级方案 罗姆倾情助力工业电机设计
推动国内大循环,电子产业如何把握当下机遇?
具有集成式驱动器和自我?;すδ艿腉aN FET如何实现下一代工业电源设计
高性能标准CMOS传感器应用于3D视觉、感测和度量
要采购传感器么,点这里了解一下价格!
特别推荐
技术文章更多>>
技术白皮书下载更多>>
热门搜索

关闭

?

关闭