- 电池快速充电的分段恒流控制
- 快速充电方法的选择
- 分段恒流充电控制方案
- 分段恒流充电智能化控制方案
摘要:基于电池快速充电基本原理,制定了电动汽车用电池的分段恒流充电方案。根据对分段恒流充电试验结果的分析,对其控制策略进行了调整:按容量梯度法确定分段恒流充电终止控制参数,适当减小各段恒流值下降梯度,并将电池温度设为充电安全保障控制参数。调整方案后的充电试验结果表明,这种分段恒流充电控制方法可实现动力电池的智能化快速充电,有效缩短充电时间、提高充电效率。
电动汽车用电池的快速充电是电动汽车研究与开发过程中的重要课题。尽管许多实用化的充电设备或商用充电器具有快速充电及均衡充电的功能,但其通常是按事先设定的充电电流对电池进行充电。这种方法不能根据电池充电过程中的具体情况对充电电流进行调整,为了避免出现过充电,设定的充电电流通常偏小 ,因此充电时间仍然较长,而且由于不具备自适应能力,充电过程中容易出现过充电现象,对蓄电池的寿命不利。为了在实现快速充电的同时又不影响电池寿命,关键是要使快速充电过程具有自适应性,即根据电池的实际状态自动调节充电电流的大小,使其始终保持在充电可接受电流的临界值附近。为此,本文在电池快速充电理论基础上,对分段恒流充电方法进行了试验研究,以期实现动力电池的智能化快速充电和均衡充电。
1 电池快速充电的分段恒流控制
1. 1 快速充电方法的选择
增大充电电流,电池极板上单位时间内恢复的活性物质增多,充电时间就可缩短,但过大的充电电流会损害电池。电池可接受的充电电流是有限的,且会随充电时间呈指数规律下降。在电池充电过程中,充电电流曲线在该指数函数曲线以上时会导致电池电解液发生析气反应 (过充电) ,反之则不能有效缩短充电时间。理想化的电池快速充电过程是充电电流始终保持在电池充电可接受电流的极限值,即充电电流曲线与该电池的充电可接受电流曲线相重合。本文选择容易实现的分段恒流充电方法。其关键是要确定适当的分段恒流充电终止判断标准、恒流充电分段数和各阶段恒流充电电流值。
1. 2 分段恒流充电控制方案
要实现分段恒流充电的自动控制,阶段恒流充电终止判断参数可选择充电时间、电池温度和电池电压等。大量的调查分析和电池充电试验结果表明,单参数控制方法难以实现理想的分段恒流充电控制。
充电时间参数控制方法简单 ,但电池型号不同、 充电起始状态不同 ,所需的充电时间也不一样 ,如果单以充电时间来控制阶段恒流充电的结束 ,容易导致电池过充电或延长充电时间。温度参数控制方法的优点是可实现电池温度过高保护 ,但是由于环境和传感器响应时间延迟的影响,如果仅以电池温度参数作为阶段恒流充电终止判断标准 ,也容易造成电池的过充电。电压参数控制被认为是较好的阶段恒流充电终止控制方法 ,但其不足也是显而易见的 ,比如:不能识别因电池极板硫化而产生的充电电压异常升高以及电池充电过程中出现的异常温升等 ,从而导致电池充电时间延长或电池的损坏。
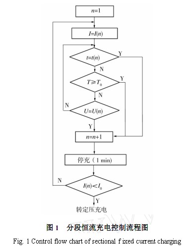
为了保证在各种情况下均能检测电池的实际充电状态 ,并实现较为理想的阶梯形充电电流曲线 ,本文综合了充电时间、 电池温度和终止电压 3个参数作为各阶段恒流充电终止判断依据 ,其控制流程如图 1 所示。

T —电池温度 ; T0—停充温度 ; I0—最小恒流充电电流 ;t ( n)—第 n 次恒流充电的设定充电时间 ; I ( n)—第n 次恒流充电的设定电流值 ;U ( n)—第 n 次恒流充电的设定终止电压分段恒流充电结束后再进行一段时间的定压充电 ,是为了确保电池能完全充足 。3 个控制参数的具体控制策略如下 。
时间参数控制 :根据电池容量和充电电流 ,预先设定某段恒流充电的时间 ,当充电时间达到设定值时 ,通过定时器发出信号 ,结束该阶段的恒流充电并自动将充电电流减小 ,进入下一段恒流充电 。
温度参数控制 : 设定某段恒流充电至可接受电流极限时的电池温度最高值 ,根据温度传感器检测的电池温度来控制充电装置。当外界环境温度较低 、设置的电池最高温度较高时 ,采取控制温升法 ,当电池的温升达到设定值时 ,温控器使充电装置停止充电 ,直到温度下降至适当值时 ,自动进入下一阶段恒流充电 。
电压参数控制:电池的绝对电压可以反映电池的充电情况 ,设定某段恒流充电达到或接近充电可接受电流极限值的电压 ,当电压达到设定值时 ,充电装置便自动结束本阶段恒流充电 ,进入下一阶段。[page]
1. 3 分段恒流充电试验研究
根据 电 池 的 容 量 初 步 设 定 t ( n ) 、I ( n ) 和U ( n),进行充电试验 ,充电过程中根据实际情况对 t ( n)、I ( n) 和 U ( n) 进行调整 ,然后再进行下一次充电试验 。每次充电的电池初始状态均为 3 h率完全放电[ 10 ],对各次试验的充电时间 、充电效率和电池温升等数据进行分析比较 ,从中选定充电时间最短 、电池温升比较小的充电过程 ,其各阶段的控制参数和充入的电量如表 1 和表 2 所示 ,分段恒流充电电流曲线如图 2 所示 。



通过对试验结果进行分析 ,可得出如下结论 :
(1) 各段恒流值 I ( n) 的梯度宜适当减小 。对比电池温升情况及各段恒流充电终止状况相近的几次分段恒流充电过程发现 ,对于充足电所用时间而言 ,5 段恒流充电的时间最短 ,而 4 段恒流充电的时间短于 3 段恒流充电的时间 。因此 ,适当减小各段恒流值下降梯度 (分段数增加) ,可使实际充电电流曲线更接近充电可接受电流曲线 。
(2) 设定各恒流段充电时间t ( n) 的作用不大 。用定时器控制各恒流段充电时间t ( n) 比较容易实现 ,然而由于电池在恒流充电开始时的荷电状态不同或因电池容量衰减导致充电可接受电流减小时 ,最佳的恒流充电时间也随之改变 。电池状态的不确定使最佳充电时间很难确定 。在试验中常出现以下现象 : 某段恒流充电到了设定的充电时间 ,但充电电压离终止电压相差还很远 ,这时 ,本试验选择了在该恒流值下继续充电 ,直至充电电压达到终止电压 ; 某段恒流充电设定的充电时间还未到 ,但电池已大量析气 (电解液“沸腾”) ,且充电电压已高于设定的终止电压或电池温度升至限定值 ,这种情况下 ,充电器会立即停止该段恒流充电 ,自动转入下一阶段 。由此可见 ,在自动控制充电过程中 ,设定充电时间的作用不大 。
(3) 电池温度不宜单独作为分段恒流充电控制参数 。理论上 ,在开始充电时电池荷电状态不同的情况下 ,电池温度均可用作各阶段恒流充电的自动停止控制参数 。但是 ,温度传感器的误差和滞后性容易造成电池过充电 ,因此不宜单独采用电池温度作为分段恒流充电终止控制参数 。
(4) 终止电压参数 U ( n) 对异常情况的自适应性较差 。将不同恒流值下的终止电压设为控制参数 ,可自适应电池开始充电时的荷电状态和电池使用过程中充电可接受电流的变化 ,且控制也比较简单 。但是 ,当电池的性能出现异常变化时 ,原来设定的终止电压可能会过高或过低 ,导致电池过充电或过早降低充电电流而延长了整个充电时间 。此外 ,在不同的恒流充电阶段 ,电池内部的充电极化程度也不同 ,接近可接受电流极限时的充电电压上升速率也会有明显的差别 ,要准确地设置各种恒流充电状态下的终止电压难度很大 。
2 电池分段恒流充电的智能化控制
2. 1 分段恒流充电智能化控制方案
根据分段恒流充电试验的结果与分析 ,对分段恒流充电控制方案作了如下调整 :
(1) 采用容量梯度法确定阶段恒流充电终止标准。通过理论分析和大量试验研究 ,本文认为采用容量梯度参数 dU / dC 作为阶段恒流充电终止判断标准较为适宜 。按该型电池恒流充电特性曲线确定充电终止容量梯度参数 ,充电过程中控制器以设定的频度对充电电压进行采样 ,计算I ( n) 下的容量梯度值 ,并与设定的充电终止容量梯度标准进行比较 ,根据比较结果判断是否终止当前阶段恒流充电 。
(2) 减小各段恒流值下降梯度 。通过试验确定该型电池初次恒流值I (1) ,并减小阶段恒流充电的电流下降幅度 。如果降低充电电流后 ,达到充电终止容量梯度值的时间很短 (设定一个最小充电时间) ,则适当增大电流下降的幅度 。
(3) 将电池温度设为充电安全保障控制参数 。设置电池最高温度限定值 ,在充电过程中 ,如果电池温度达到了限定值 ,立即停止充电 。当电池温度降至正常温度时 ,适当减小充电电流继续充电 ,直到该段恒流充电结束。
2. 2 分段恒流充电智能化控制电路
分段恒 流 充 电 智 能 化 控 制 电 路 如 图3 所示。该电路采用 CPU 控制 ,可对充电电池和充电环境温度进行检测 ,对电池充电进行计时 ,采样充电过程中电池的电压和电流 ,对分段恒流充
电过程进行控制 。

2. 3 智能化分段恒流充电试验研究
根据调整后的分段恒流充电方案进行充电试验 ,为便于比较 ,采用与方案调整前的充电试验所用同一型号电池 ,充电初始状态完全一样。调整方案后的定流充电各阶段的控制参数和充入的电量如表 3 所示 ,其定压充电阶段的控制参数和充入的电量与表的分段恒流充电电流曲线如图 4 所示。

在调整方案后的分段恒流充电试验过程中 ,电池没有出现温度过高而停止充电的情况 ,充电时间缩短了,充电效率也提高了,并且整个充电过程均按设定的程序自动进行,完全不需要人工干预,实现了智能化的快速充电。

3 结语
分段恒流充电使电池的实际充电电流曲线接近充电可接受电流曲线 ,是实现电池快速充电的有效方法。采用容量梯度法确定恒流充电终止标准参数,减小阶梯恒流充电电流下降梯度 ,并辅以电池温度过高则停止充电的保护控制 ,可实现动力电池的智能化快速充电控制。试验结果表明 ,这种恒流充电控制方法可有效缩短充电时间 ,提高充电效率 ,延长电池使用寿命。




