- 苹果将采用太阳作为显示背光的外部光源
- 有助于笔记本电脑的电池寿命和续航时间
- 成功实现了MacBook收集外部光线来照亮计算机屏幕
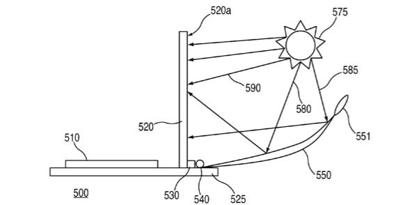
据苹果本周申请的专利描述,苹果将采用太阳作为显示背光的外部光源,这有助于笔记本电脑的电池寿命和续航时间。
该专利被描述为“外部光照明的显示屏”,文档指出,液晶显示器在户外阳光直射的环境下很难看到内容,往往需要高功率组件才能显示,该技术解决了这样一个问题,成功实现了MacBook收集外部光线来照亮计算机屏幕。
苹果采用了一块反射面板来为屏幕供应光线,并且该系统还支持内部LED灯和其它外部光源的自动补光。








